EasyManua.ls Logo

Saab 2001 9-3 - General Functions

Saab 2001 9-3
260 pages
Print Icon
To Next Page IconTo Next Page
To Next Page IconTo Next Page
To Previous Page IconTo Previous Page
To Previous Page IconTo Previous Page
Loading...
108 Saab 9-3 Audio System
General functions
Volume-preset mode
To select the volume-preset mode, press
and hold the WB button at the same time as
you switch the Audio System on.
Use the button to select the
required function.
The following volume settings can be prese-
lected:
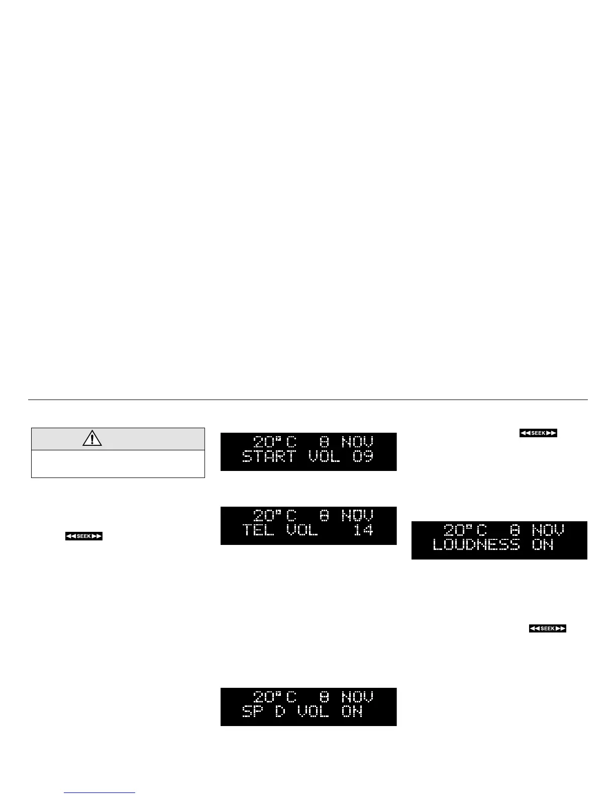
•STARTVOL - maximum volume level
when the Audio System is switched on.
TEL VOL - preset volume level when an
in-car phone is activated.
SP D VOL - speed-dependent volume.
The Audio System will automatically
adjust the volume level to suit the back-
ground noise, such as road noise, occur-
ring while the car is in motion.
LOUDNESS ON/OFF - boosting of the
highest and lowest frequency ranges to
enhance the sound image when the
volume is set to a low level.
Adjusting the volume
The default setting for START VOL is
volume setting 9, and that for TEL VOL is
volume setting 14 (the highest volume set-
ting is 30).
Maximum START VOL
•TELVOL
To change the volume setting:
Press and hold the WB button at the
same time as you switch on the Audio
System.
Adjust the volume.
Wait 10 seconds or touch one of the
buttons on the bottom row of the Audio
System, e.g. RADIO/BAND, to save the
new volume setting.
Speed-dependent volume
(SP D VOL) ON/OFF
To change the volume setting:
The default setting for this function is ON.
Press and hold the WB button at the
same time as you switch on the Audio
System.
Select SP D VOL using .
Select ON/OFF by turning the VOL
control.
Wait 10 seconds or touch one of the but-
tons on the bottom row of the Audio Sys-
tem, e.g. RADIO/BAND, to save the new
volume setting.
Loudness ON/OFF
To change the loudness setting:
The default setting for this function is ON.
Press and hold the WB button at the
same time as you switch on the Audio
System.
Select LOUDNESS using .
Select ON/OFF by turning the VOL
control.
Wait 10 seconds or touch one of the but-
tons on the bottom row of the Audio Sys-
tem, e.g. RADIO/BAND, to save the new
volume setting.
WARNING
These functions should only be carried
out when the car is stationary.

Table of Contents

Related product manuals