EasyManua.ls Logo

SABINE GRAPHI-Q2 - SECTION FOUR: BLOCK DIAGRAM;INTERNAL SIGNAL PATH

SABINE GRAPHI-Q2
56 pages
Print Icon
To Next Page IconTo Next Page
To Next Page IconTo Next Page
To Previous Page IconTo Previous Page
To Previous Page IconTo Previous Page
Loading...
8
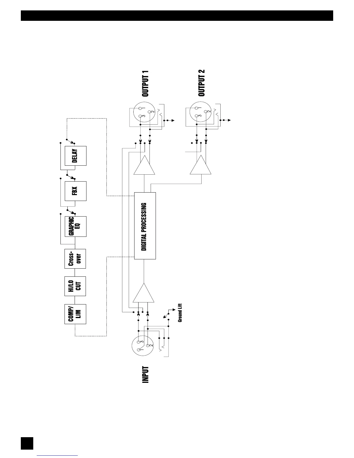
Section Four: Block Diagram/Internal Signal Path
SECTION FOUR: BLOCK DIAGRAM/INTERNAL SIGNAL PATH

Table of Contents

Related product manuals