EasyManua.ls Logo

Sabre RG1128 - Page 13

Default Icon
Print Icon
To Next Page IconTo Next Page
To Next Page IconTo Next Page
To Previous Page IconTo Previous Page
To Previous Page IconTo Previous Page
Loading...
Um ein Eingreifen der Schutzeinrichtung der elektronischen
Steuerkarte zu vermeiden, darf der Motor keinesfalls angelassen werden, ehe die
Batterie vollständig geladen ist!
Bei Eingriffen an der Batterie und bei deren Entsorgung sind
die Sicherheitsvorschriften des Herstellers zu beachten.
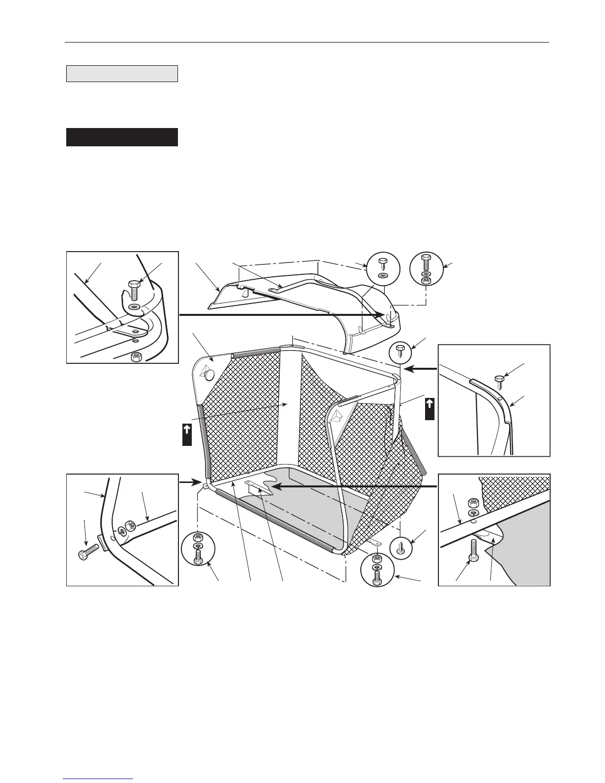
MONTAGE DES AUFFANGSACKS
Zuerst den Rahmen montieren, wobei der obere Teil (1), der die Öffnung einschließt, mit
dem unteren Teil (2) unter Verwendung der mitgelieferten Schrauben und Muttern (3) in
der angegebenen Reihenfolge zu verbinden ist.
Die Eckleisten (4) und (5) einsetzen, dabei die Orientierung rechts (R) und links (L),
beachten und am Rahmen mit vier selbstschneidenden Schrauben (6) befestigen.
Den Rahmen in den Tuchsack einführen und dafür sorgen, dass er genau entlang dem
Umriss des Bodens positioniert wird. Mit Hilfe eines Schraubenziehers (7) die
!
ACHTUNG!
WICHTIG
DEU 11AUSPACKEN UND ZUSAMMENBAU
5
L
6
4 - 5
2
13 12
1 2
3
R
4
3 2
12
1
6
6
898 10 1011
13

Table of Contents

Related product manuals