EasyManua.ls Logo

Saft 4579 - Page 64

Saft 4579
66 pages
Print Icon
To Next Page IconTo Next Page
To Next Page IconTo Next Page
To Previous Page IconTo Previous Page
To Previous Page IconTo Previous Page
Loading...
SAFT AMERICA INC.
COMPONENT MAINTENANCE MANUAL
4579
24-31-05
PAGE 1004
Jan 30/98
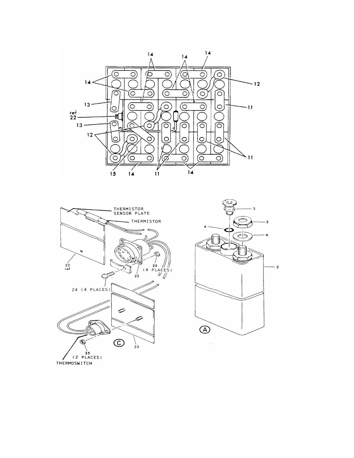
Figure 1 (#2 of 3)
--------------------------------------------------------------------------------------------------------------------------
Figure 1 (#3 of 3)

Table of Contents

Related product manuals