EasyManua.ls Logo

Samsung MAX-485 - Page 29

Samsung MAX-485
69 pages
Print Icon
To Next Page IconTo Next Page
To Next Page IconTo Next Page
To Previous Page IconTo Previous Page
To Previous Page IconTo Previous Page
Loading...
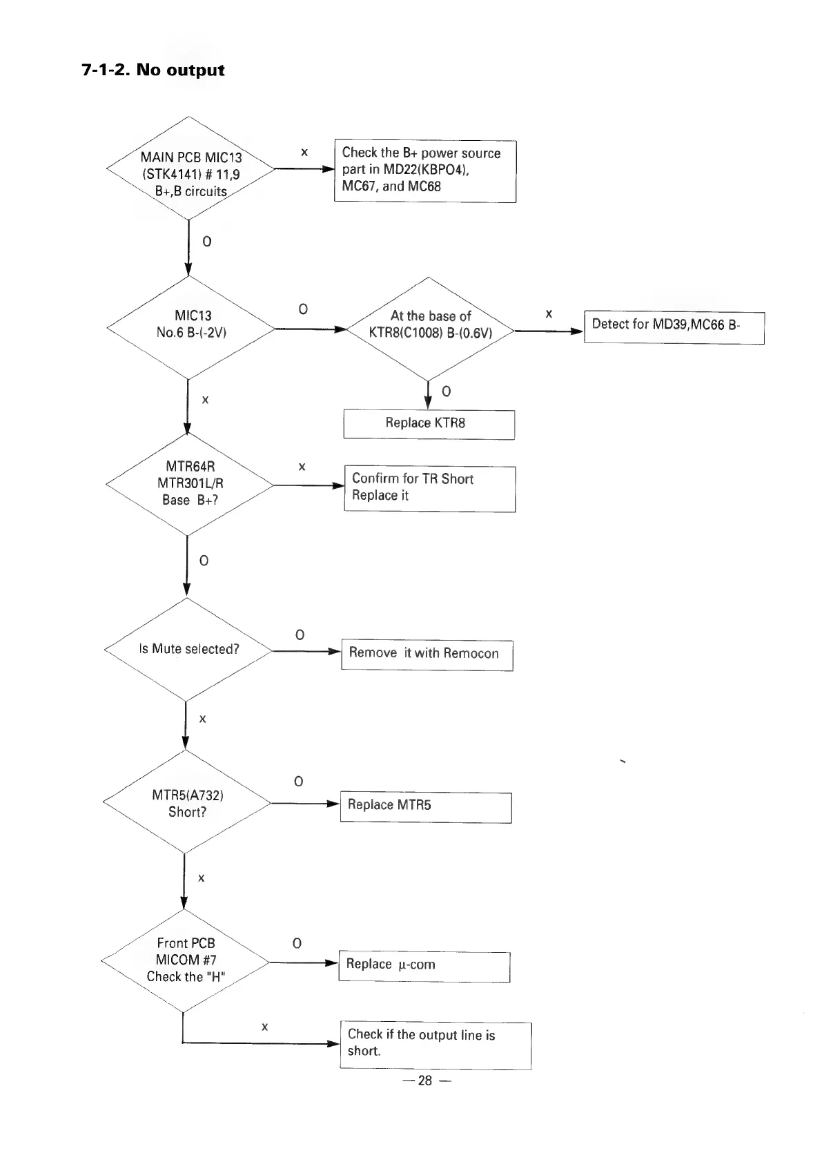
7-1-2.
No
output
Check
the
B+
power
source
part
in
MD22(KBPO4),
MC67,
and
MC68
MAIN
PCB
MIC13
(STK4141)
#
11,9
B+,B
circuits
MIC13
No.6
B-(-2V)
At
the
base
of
KTR8(C1008)
B-(0.6V)
Replace
KTR8
Detect
for
MD39,MC66
B-
MTR64R
MTR301L/R
Confirm
for
TR
Short
Replace
it
Base
B+?
Pi
:
a
Is
Mute
selected?
>—
|
Remove
it
with
Remocon
ee,
Pa
x
MTR5(A732)
Short?
Replace
MTR5
™~
Front
PCB
MICOM
#7
oN
Check
the
"H
——
Replace
u-com
Check
if
the
output
line
is
short.
23

Related product manuals