EasyManua.ls Logo

Samsung RF26X - Reattaching the Refrigerator Doors

Samsung RF26X
88 pages
Print Icon
To Next Page IconTo Next Page
To Next Page IconTo Next Page
To Previous Page IconTo Previous Page
To Previous Page IconTo Previous Page
Loading...
@ Setting Up
Setting up your French Door Refrigerator
3&"55"$)*/(5)&3&'3*(&3"503%0034
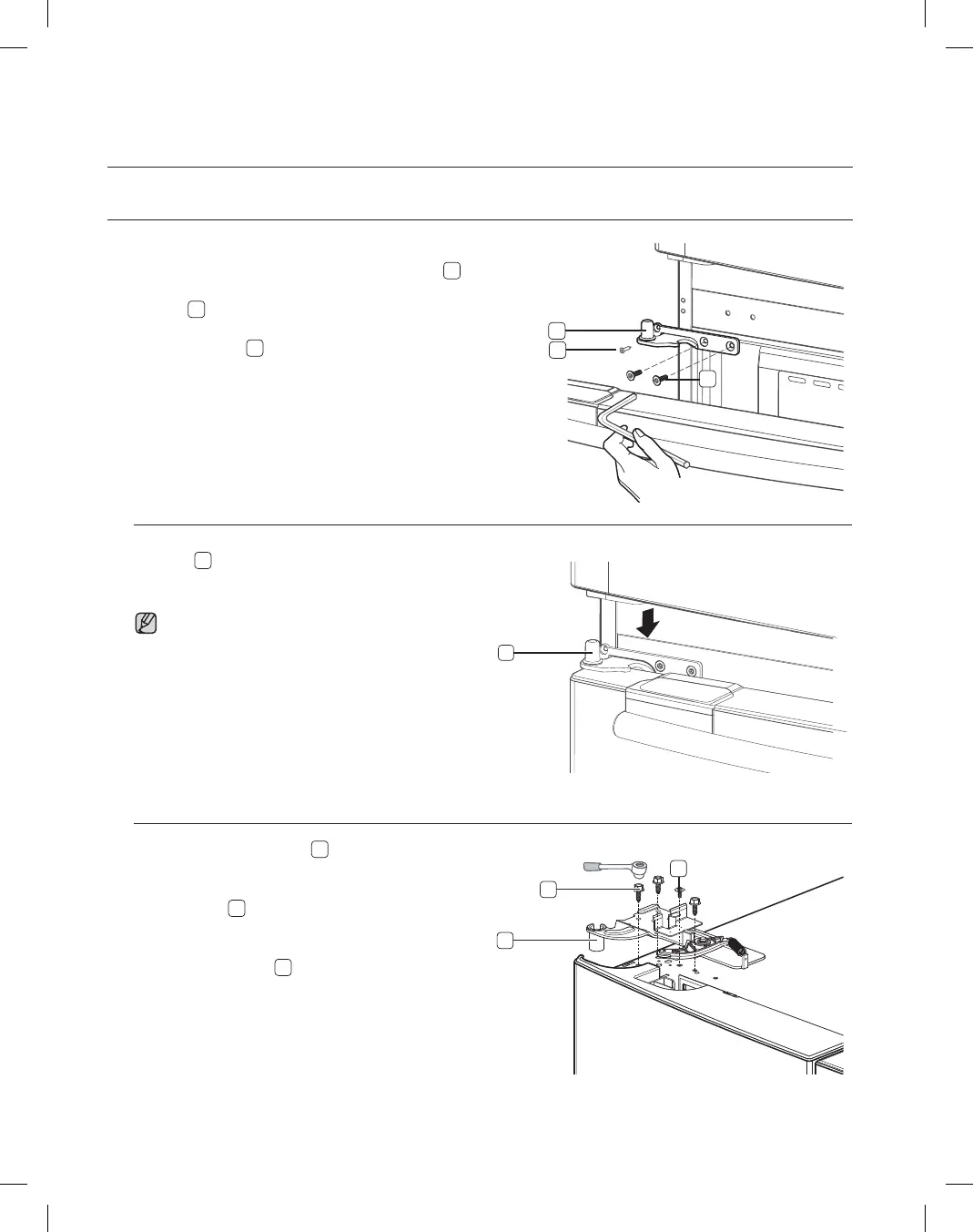
"TTFNCMFUIF3FGSJHFSBUPSEPPST
1. Reattach the lower left and right door hinges(

).
With a Philips head screwdriver, insert and tighten a
screw(

) into the lower left and right door hinges.
With a Allen Wrench(3/16”), insert and tighten the two
hex head bolts(

) into the lower left and right door
hinges.
2. Place the hole in the bottom of the door over the lower
hinge(

).
Be careful not to miss the hinge cap because it can
be easily taken off.
3. Insert the upper hinges(
9
) into the holes at the top
of the doors.
With a Wrench(10mm), insert and tighten the 3 hex
head bolts(
7
) into the upper left and right door
hinges.
With a Philips head screwdriver, insert and tighten
the ground screw(
8
) into the upper left and right
door hinges.
9
7
8





Related product manuals