EasyManua.ls Logo

Samsung RT18M6213SR - Opérations; Panneau de Commande

Samsung RT18M6213SR
192 pages
Print Icon
To Next Page IconTo Next Page
To Next Page IconTo Next Page
To Previous Page IconTo Previous Page
To Previous Page IconTo Previous Page
Loading...
Français30
Opérations
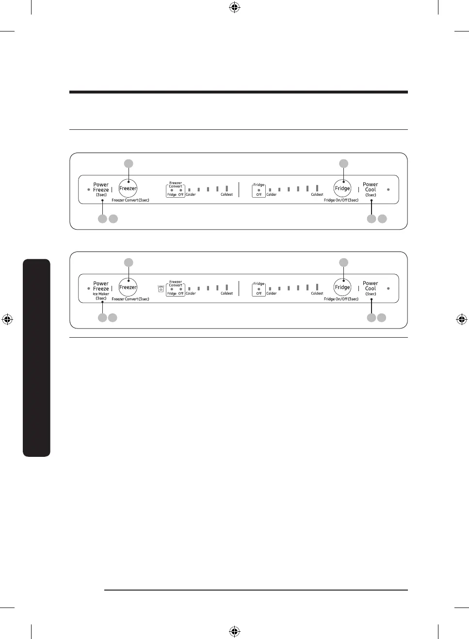
Panneau de commande
Type A
01 0405 05
02 03
Type B
01 0405 05
02 03
01 Power Freeze (Congélation rapide) /
Ice Maker (Machine à glaçons) (modèles
applicables uniquement)
02 Freezer (Congélateur) /
Freezer Convert (Conversion réfrigérateur/
congélateur)
03 Fridge (Réfrigérateur) /
Fridge On/Off (Activation/Désactivation du
réfrigérateur)
04 Power Cool (Refroidissement rapide)
05 Mode Sabbat
Opérations
Untitled-3 30 2021-05-21  12:26:11

Table of Contents

Related product manuals