EasyManua.ls Logo

Samsung RT35 - Page 170

Samsung RT35
328 pages
Print Icon
To Next Page IconTo Next Page
To Next Page IconTo Next Page
To Previous Page IconTo Previous Page
To Previous Page IconTo Previous Page
Loading...
Funcionamiento
Español38
Funcionamiento
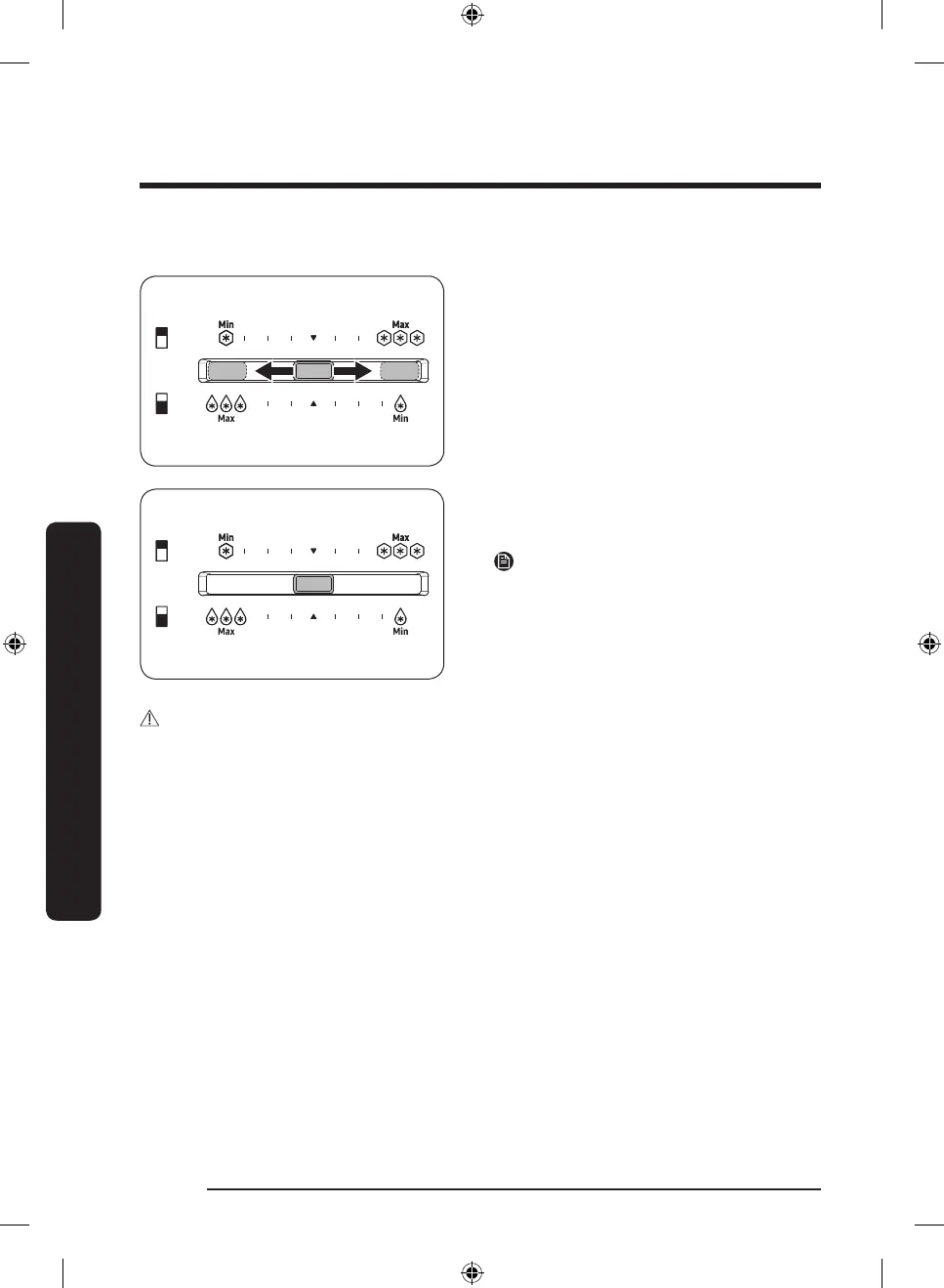
Congelador - Analógico
Para aumentar la temperatura, deslice el control
de temperatura hacia la izquierda.
Para disminuir la temperatura, deslice el control
de temperatura hacia la derecha. En invierno,
deslice el control de temperatura hacia el
extremo derecho.
Para hacer hielo en verano (por encima de los
35 °C), ajuste la temperatura del congelador al
centro.
NOTA
Si la Máquina de hielo automática no produce
suciente hielo, deslice el control de temperatura
hacia la derecha.
PRECAUCIÓN
Para evitar fallos del sistema o que los alimentos se echen a perder, no ajuste la temperatura hacia el
extremo más a la derecha (máximo) en verano (más de 35 °C).
No guarde botellas de vidrio que contengan líquido en el congelador. Las botellas de vidrio se agrietan
o se rompen cuando el líquido se congela.
Untitled-11 38 2023-04-03  3:14:26

Table of Contents

Other manuals for Samsung RT35

Related product manuals