EasyManua.ls Logo

SandenVendo V21 621 - Page 181

Default Icon
257 pages
Print Icon
To Next Page IconTo Next Page
To Next Page IconTo Next Page
To Previous Page IconTo Previous Page
To Previous Page IconTo Previous Page
Loading...
V21 Parts & Service Manual
All V21 Identified Equipment
REV A – 10/2013
P/N: 1230409
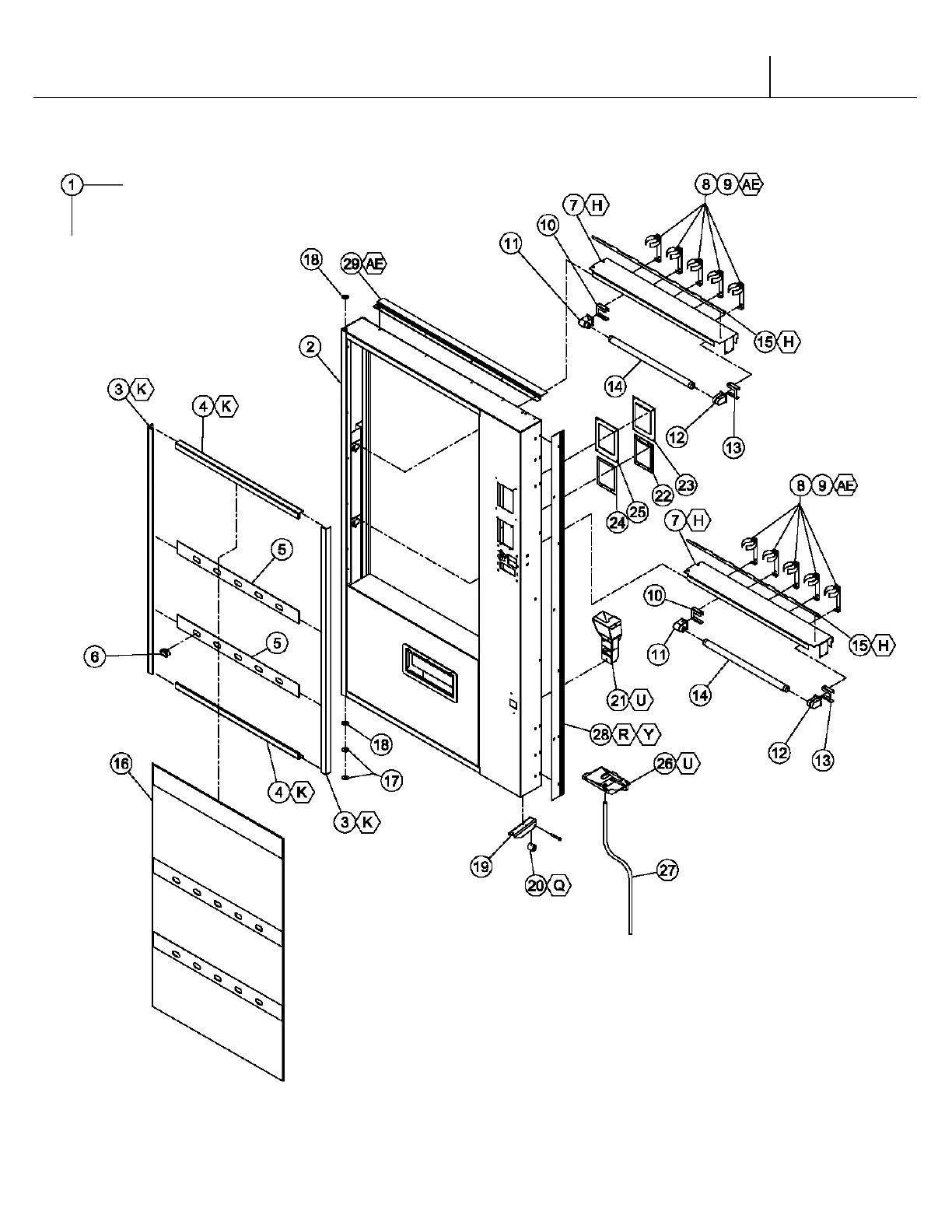
TRADE LIVE DISPLAY
DOOR SECTION
V21 Door Parts Trade Live Display | D6-2

Related product manuals