EasyManua.ls Logo

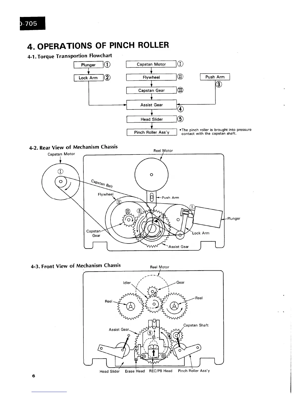
Sansui D-705 - PINCH ROLLER OPERATIONS; TORQUE TRANSPORTION FLOWCHART; REAR VIEW OF MECHANISM CHASSIS; FRONT VIEW OF MECHANISM CHASSIS

Sansui D-705
20 pages
Print Icon
To Next Page IconTo Next Page
To Next Page IconTo Next Page
To Previous Page IconTo Previous Page
To Previous Page IconTo Previous Page
Loading...

Related product manuals