EasyManua.ls Logo

Sansui D-X219WR - Page 2

Sansui D-X219WR
20 pages
Print Icon
To Next Page IconTo Next Page
To Next Page IconTo Next Page
To Previous Page IconTo Previous Page
To Previous Page IconTo Previous Page
Loading...
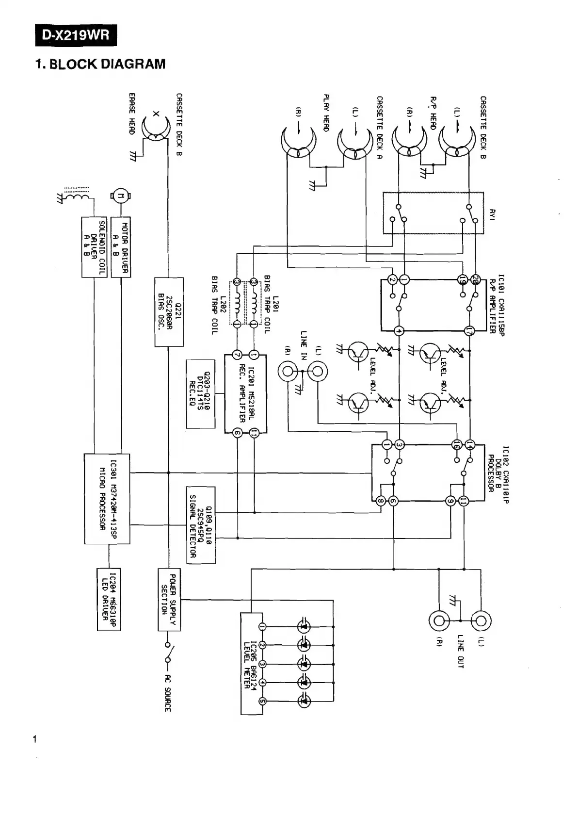
D-X219WR
1.
BLOCK
DIAGRAM
1C1@2
CXALIOIP
1C1@1
CXA1115BP
DOLBY
B
RY!
R/YP
AMPLIFIER
PROCESSOR
CASSETTE
DECK
B
Ou
Aacais
5
,
;
LINE
OUT
©
(R)
4
DDD
O—D—_2--O—®
IC2@5
BAG124
LEVEL
METER
ee,
R/P
HEAD
(Ri)
(
o
,
CASSETTE
DECK
A
aS
(ti)
PLAY
HEAD
LINE
IN
©
(Rk)
\
L201
BIAS
TRAP
COIL
BIAS
TRAP
COIL
Q109
,Q118
2SC945PQ
SIGNAL
DETECTOR
Q203-0216
DTC114TS
REC.EQ
CASSETTE
DECK
B
2SC206@R
BIAS
OSC.
ae,
ERASE
HEAD
7
POWER
SUPPLY
SECTION
O
~O—
AC
SOURCE
x
MOTOR
DRIVER
A&B
SOLENOID
COIL
DRIVER
A&B
1C301
M37420M-413SP
10204
466310P
LED
DRIVER
MICRO
PROCESSOR

Related product manuals