EasyManua.ls Logo

Sanyo MR-939 - Page 8

Sanyo MR-939
19 pages
Print Icon
To Next Page IconTo Next Page
To Next Page IconTo Next Page
To Previous Page IconTo Previous Page
To Previous Page IconTo Previous Page
Loading...
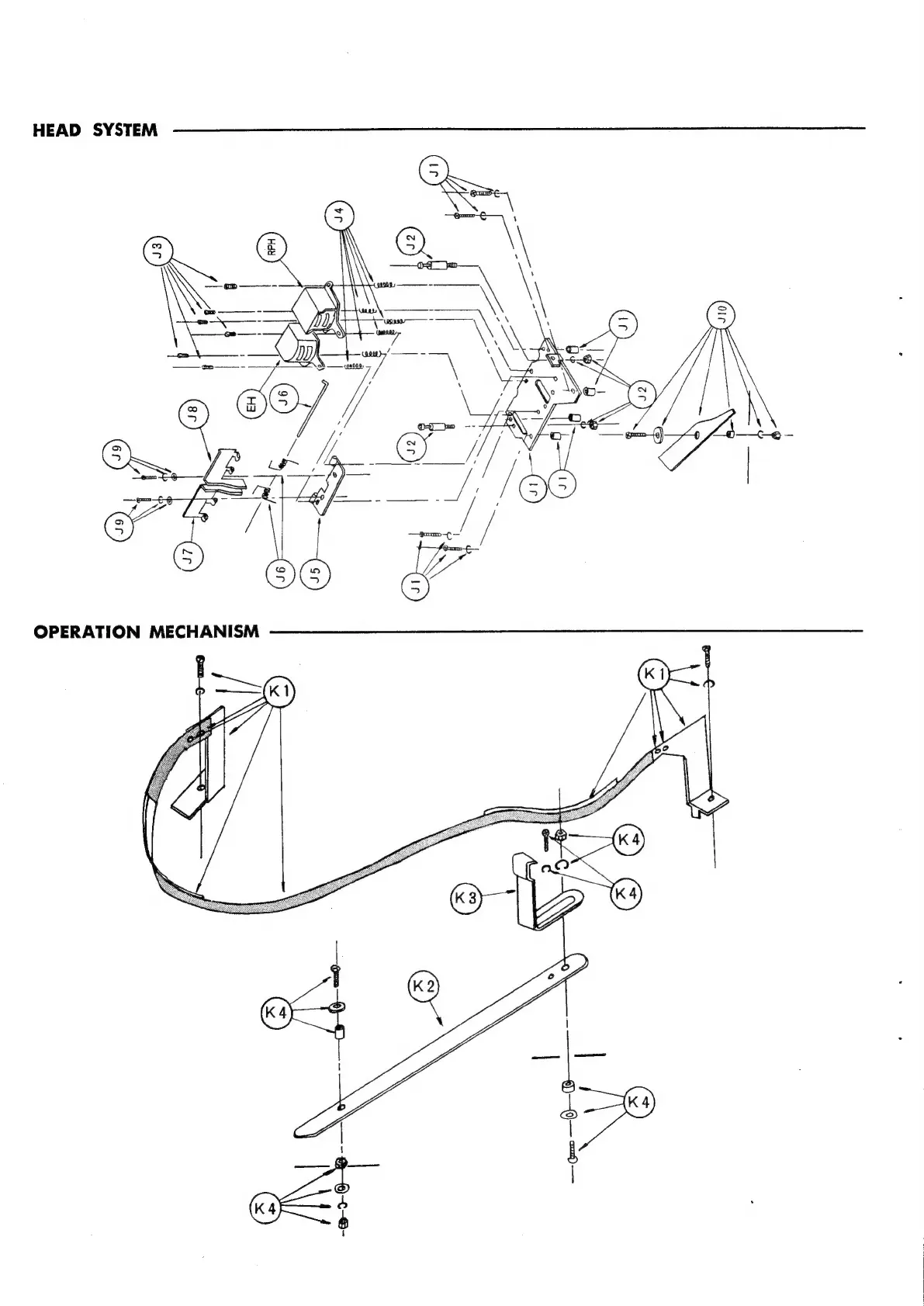
HEAD
SYSTEM