EasyManua.ls Logo

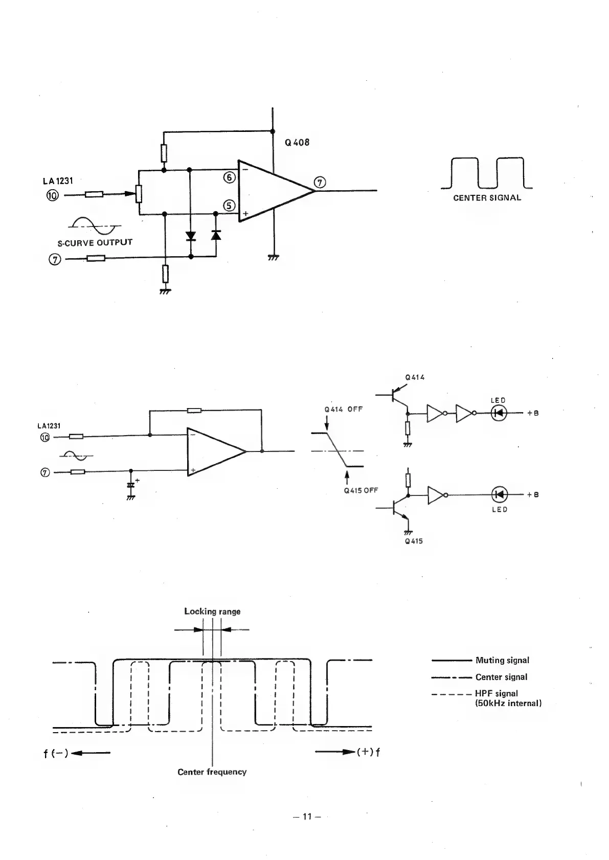
Sanyo PLUS T35 - Quartz Sampling Lock Principles; Quartz Sampling Lock Principle; Quartz Sampling Lock Circuit Description

Sanyo PLUS T35
32 pages
Print Icon
To Next Page IconTo Next Page
To Next Page IconTo Next Page
To Previous Page IconTo Previous Page
To Previous Page IconTo Previous Page
Loading...
LA
1231
CENTER
SIGNAL
@
Q414
i
LED
Q414
OFF
+8
LA1231
FF
Q4150
+8
LED
Q415
Locking
range
Muting
signal
——--——
Center
signal
-~-----
HPF
signal
(50kHz
internal)
Center
frequency