EasyManua.ls Logo

Sartorius YTM05MA - Page 65

Sartorius YTM05MA
74 pages
Print Icon
To Next Page IconTo Next Page
To Next Page IconTo Next Page
To Previous Page IconTo Previous Page
To Previous Page IconTo Previous Page
Loading...
65
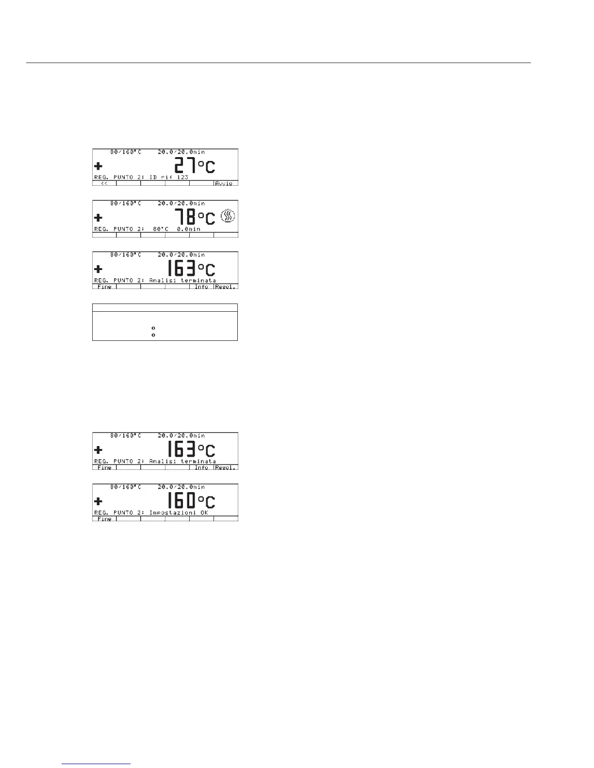
§ Premere l’Help di linea [Avvio], la regolazione della
temperatura viene avviata.
> Il simbolo di essiccazione appare sul display; il
tempo di regolazione trascorso e la temperatura
attuale rimangono sempre visualizzati.
§ Alla fine della regolazione della temperatura:
si sente per 3 volte un segnale acustico e sul
display appare: Analisi terminata
§ Con il tasto [Info] si possono visualizzare i valori
dell’analisi.
§ Per ritornare allo stato precedente, premere l’Help
di linea ,.
> Premendo l’Help di linea [Fine] si ritorna al menù
di test senza regolazione/calibrazione. La stampa
del protocollo viene eseguita automaticamente.
§ Premendo l’Help di linea [Regol.] viene avviata la
regolazione/calibrazione dello strumento. In questo
modo la regolazione della temperatura è conclusa.
Se la temperatura finale indica, per es. 163°C, ciò
significa che la temperatura differisce di 1°C dal
limite di tolleranza di 160°C ± 2°C, per esempio.
Mediante la regolazione dello strumento, lo
scostamento viene corretto automaticamente.
Contemporaneamente viene eseguita una stampa
del protocollo (per es.: con la stampante YDP20
Sartorius per l’MA45 e MA150).
SETUP isoTEST RISCALD.
Temperatura di nom. anal.
160
80
166
79
C
C