EasyManua.ls Logo

Satchwell ALE 1376 - INSTALLATION; ACTUATOR FITTING INSTRUCTIONS; WIRING

Default Icon
10 pages
Print Icon
To Next Page IconTo Next Page
To Next Page IconTo Next Page
To Previous Page IconTo Previous Page
To Previous Page IconTo Previous Page
Loading...
11/99 5 - 10 DS 3.401
INSTALLATION
Observe the following IMPORTANT points:
WARNINGS -
WHEN OPERATING A VALVE HANDLING FLUID ABOVE 100°C, DO
NOT MOUNT ACTUATOR ABOVE VALVE, BUT TO ONE SIDE.
WHEN ACTUATOR IS OPERATING BEWARE OF TRAPPING
FINGERS ETC.
Do not switch on power supply until commissioning checks have
been completed - see page 7.
Steam Applications: Following a shutdown of the steam system
it is important that the control valve is fully open before
introducing steam into the pipeline (purging) or damage may
occur to the actuator spindle or valve plug.
Do not apply power unless the actuator is fitted to a valve.
Ambient temperature must be within limits -20 to 50°C.
Do not install valve with actuator directly underneath it.
Allow sufficient clearance for fitting and wiring, also minimum of
110mm between manual operator knob and nearest obstruction.
Complete mechanical fitting of actuator to valve BEFORE
connecting electrical wiring. This avoids damage which may occur,
due to load-dependent limit switches not being operated.
Ensure location is reasonably clean and dry.
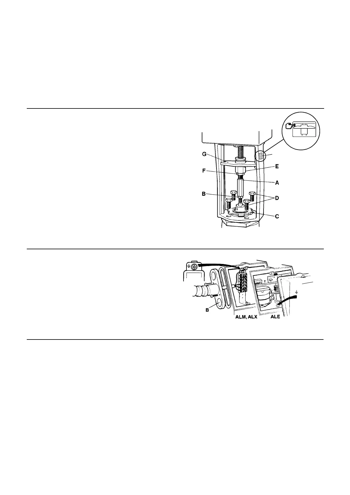
Note: The following diagrams are typical internal views (ALX 1251
and ALE 1352 are not shown).
ACTUATOR FITTING INSTRUCTIONS
1. a. Actuators ALM 1601, ALX 1201 and ALE 1302, 1327, 1376 are supplied
with adaptor 'A' fitted, for direct coupling to valves with ¼" diameter spindle.
When coupling any of these actuators to valves with
3
/
8
" diameter spindle,
first loosen locknut 'F' then remove and discard adaptor 'A'.
b. Actuators ALX 1251 and ALE 1352 have coupling 'E' to suit valves with ¼"
diameter spindle only. Adaptor 'A' is not applicable.
2. Remove lug nut 'C' from valve bonnet, locate actuator mounting bracket over
valve bonnet, replace lug nut and tighten, with actuator correctly positioned to
give clear access for conduit entry and wiring.
3. For size 125 and 150mm valves, remove and discard lug nut and fix actuator
mounting bracket to valve bonnet, using the four screws 'D' supplied.
4. Lift valve spindle into actuator coupling 'E' or adaptor 'A', as applicable and
screw on fully. Do not over-tighten. Lock using nut 'B' supplied. Use manual
operator to position coupling 'E' to required extension, as necessary,
particularly when assembling to small size valves, but avoid over-extending or
retracting actuator spindle to prevent malfunction or damage.
5. If subsequently removing the actuator to service valve gland, for example, it is
IMPORTANT to isolate power supply to controller or actuator or otherwise
select the 'Manual' position on the manual operator push button. This will avoid
malfunction or damage due to actuator spindle being accidentally driven
beyond its normal stroke limits.
WIRING
1. Remove cover 'A' and conduit plate 'B' (see Fig.3). Fit flexible
conduit to plate, allowing sufficient length to permit removal of the
actuator.
2. Connect cables in accordance with system wiring diagram or refer to
diagram inside cover in conjunction with controller diagram. Earth
actuator, where applicable, using the top (ALM, ALX) or bottom
(ALE) terminal screw. Observe 'Wiring precautions' (page 7). Keep
wiring clear of internal moving parts.
3. Replace conduit plate and cover.
Caution
Do not switch on power supply until commissioning checks 1 to 6
have been completed.
Fig.2
WARNING
LABEL
Fig.3
A

Related product manuals