EasyManua.ls Logo

Saxon COPPERFLOW - Plumbing Connection Diagram

Saxon COPPERFLOW
20 pages
Print Icon
To Next Page IconTo Next Page
To Next Page IconTo Next Page
To Previous Page IconTo Previous Page
To Previous Page IconTo Previous Page
Loading...
9
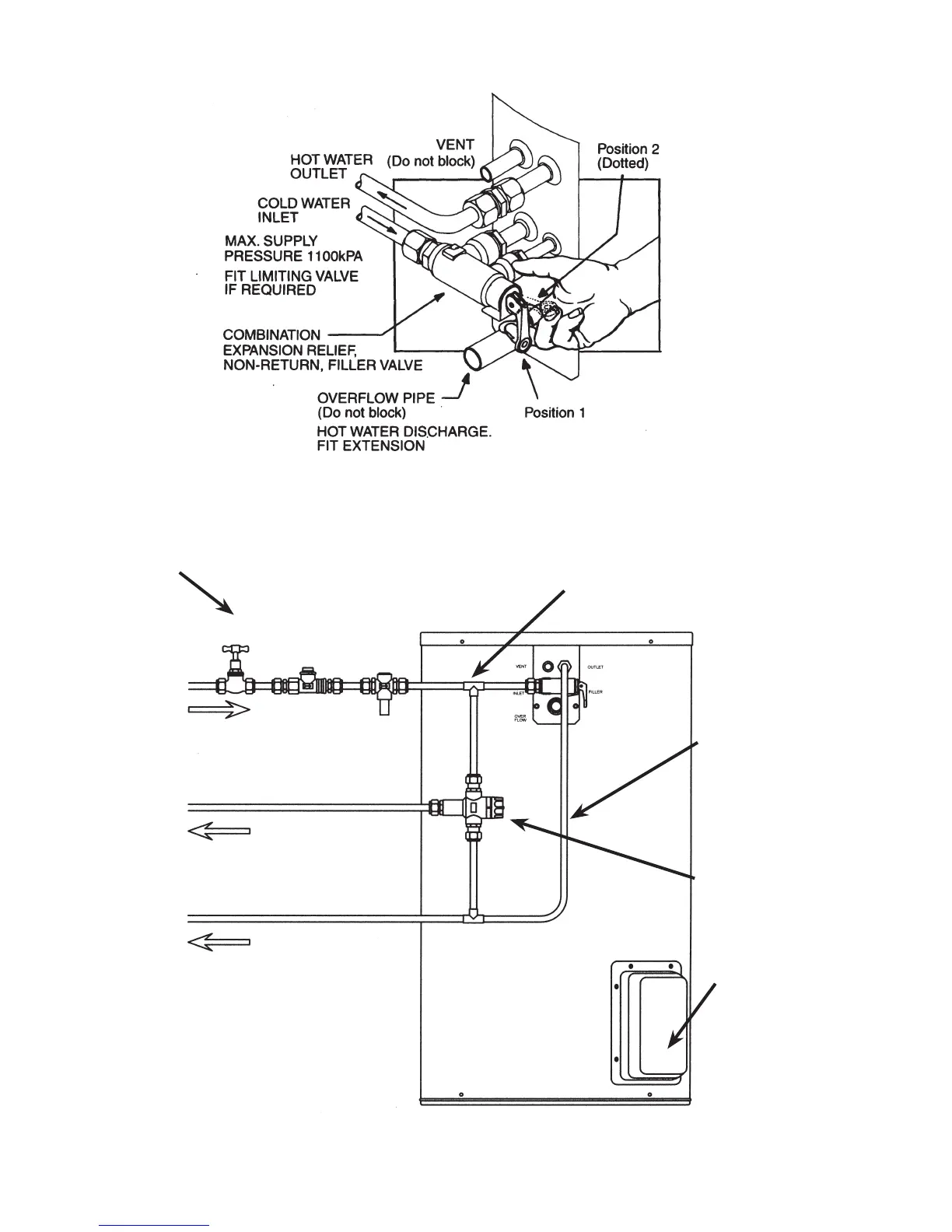
INSTALLATION DIAGRAMS
Use to adjust flow rate as
per SAXON installation
instructions
Isolating Stopcock
Cold Water Supply
Downward
Heat Trap
(advisory)
Junction
Box Cover
Adjustment of Tempering
Valve Temperature
See valve manufacturer’s
instructions for details.
Line Strainer
(advisory)
Pressure Limiting Valve
(if required)
Tempered Water Outlet
(to Bathrooms)
Full Hot Water Outlet
(to Kitchen)
Use this outlet to measure flow rate
When fitting Tempering Valve at the water heater, ensure the cold
supply to the Tempering Valve is teed off the cold supply to the water
heater down stream from the isolating stopcock and any pressure
limiting valve (if fitted)
NOTE:
For optimum performance or when fitting Tempering Valve remote from water heater, use RMC Heatguard
HP Tempering Valve (green knob) or similar.