EasyManua.ls Logo

Schmalz SCPM Series - Page 2

Default Icon
7 pages
Print Icon
To Next Page IconTo Next Page
To Next Page IconTo Next Page
To Previous Page IconTo Previous Page
To Previous Page IconTo Previous Page
Loading...
Bedienungsanleitung Ejektor SCPM
Operating Instructions for Ejectors SCPM
30.10.02.00054 Status 10.2008 / Index 01 Seite / Page 2/7
J. Schmalz GmbH
Aacher Stre 29
D - 72293 Glatten
Tel +49 (0) 7443 / 2403 - 0
Fax +49 (0) 7443 / 2403 - 259
www.schmalz.com
schmalz@schmalz.de
SCPM--VS-T-
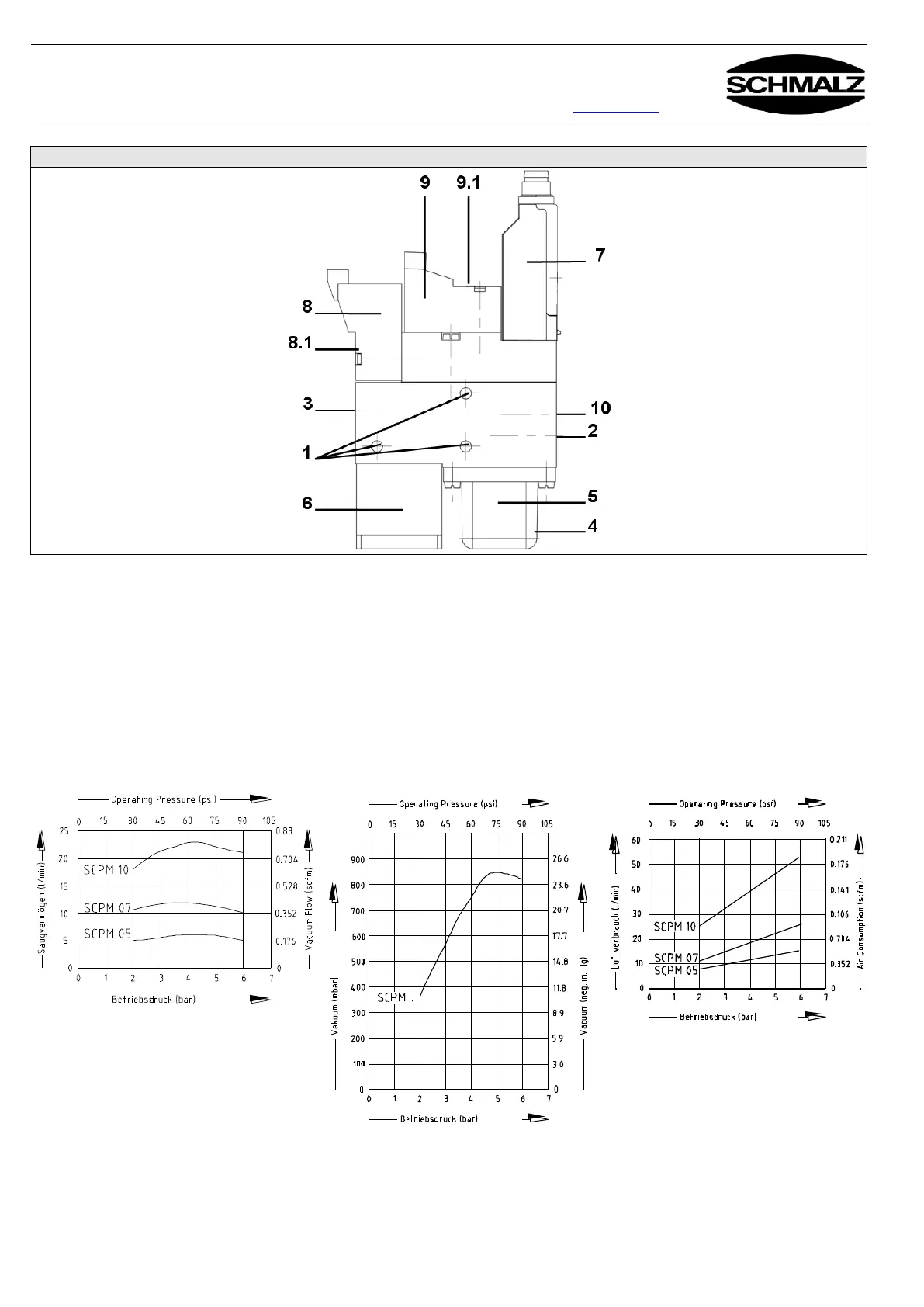
1 Befestigungsbohrungen des Ejektors: 3,2 mm
2 Vakuumanschluss: M5
3 Druckluftanschluss: M5
4 Filtergehäuse
5 Filterelement
6 Schalldämpfer
7 Vakuumschalter
8 Pilotventil "Saugen"
8.1 Handhilfsbetätigung (tastend) Pilotventil „Saugen“
9 Pilotventil "Abblasen"
9.1 Handhilfsbetätigung (tastend) Pilotventil „Abblasen“
10 Drosselschraube Abwurfimpuls
1 Mounting holes for ejector: 3.2 mm
2 Vacuum connector: M5
3 Compressed-air connector: M5
4 Filter housing
5 Filter element
6 Silencer
7 Vacuum switch
8 Pilot valve "Suction"
8.1 Auxiliary manual actuation (push button) for pilot valve "Suction"
9 Pilot valve "Blow Off"
9.1 Auxiliary manual actuation (push button) for pilot valve "Blow off"
10 Throttle screw for blow-off pulse
1.1 Ejektor SCPM