EasyManua.ls Logo

Schmidt ADS 250 - Page 45

Schmidt ADS 250
76 pages
Print Icon
To Next Page IconTo Next Page
To Next Page IconTo Next Page
To Previous Page IconTo Previous Page
To Previous Page IconTo Previous Page
Loading...
Copyright © 2020 Axxiom Manufacturing, Inc. 45
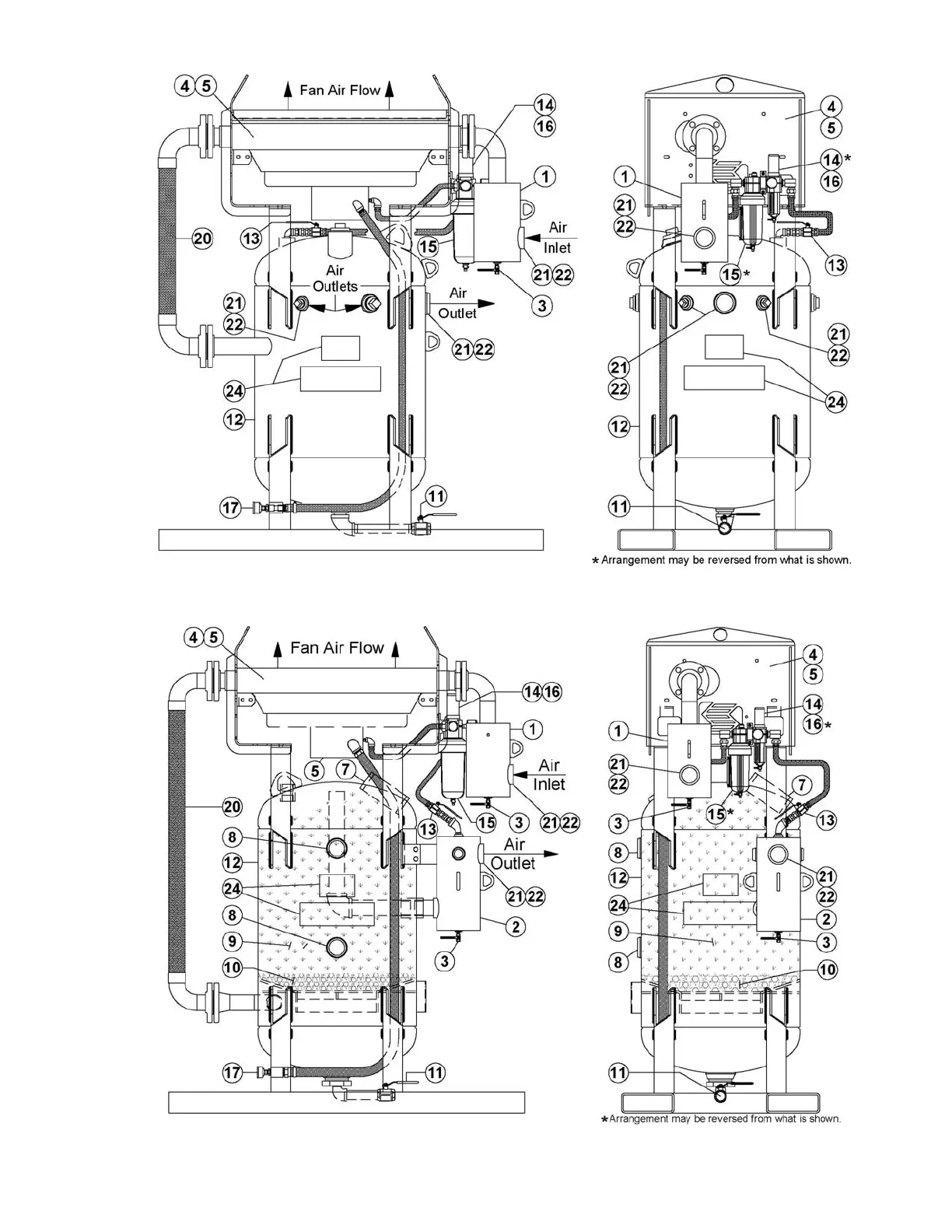
Figure 7.1(a) – Typical AirPrep Aftercooler System
Figure 7.1(b) – Typical AirPrep Dryer System

Related product manuals