EasyManua.ls Logo

Schuller 175197D - Page 4

Schuller 175197D
Print Icon
To Next Page IconTo Next Page
To Next Page IconTo Next Page
To Previous Page IconTo Previous Page
To Previous Page IconTo Previous Page
Loading...
4
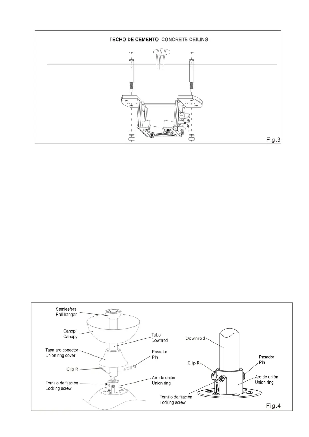
B. INSTALACIÓN EN TECHO DE HORMIGÓN. (Fig.3)
MONTAJE DE LOS COMPONENTES DEL VENTILADOR:
A. Elegir la altura del ventilador
Se incluyen dos tubos (corto de 12 cm y largo de 25 cm). El tubo corto ya estará pre-ensamblado en
la semiesfera anti-balanceo. Esto le da una altura total de 42 cm al ventilador una vez montado.
Si desea que el ventilador cuelgue más (55 cm), debe reemplazar el tubo corto por el largo.
Para hacer esto, deberá quitar la semiesfera anti-balanceo junto con los tornillos de montaje y los
pasadores del tubo corto y colocarlos en la misma posición en el tubo largo.
B. Conexión del tubo al cuerpo del ventilador (motor) (Fig.4)
- Retire el pasador inferior del tubo y deslice hacia arriba el canopí y la tapa del aro conector como se
muestra en el diagrama.
-Pasar los cables del cuerpo (motor) por el interior del tubo, hasta que salgan por el extremo opuesto
(soporte de techo). Inserte el tubo en el aro conector de unión y fíjelo usando el pasador y el clip R y
los tornillos de bloqueo.
Asegúrese de que estén atornillados proporcionalmente en ambos lados. Baje la tapa del aro conector
hasta la base superior del cuerpo motor.