EasyManua.ls Logo

Sealey SUPERCHARGE Series - Page 2

Sealey SUPERCHARGE Series
2 pages
Print Icon
To Previous Page IconTo Previous Page
To Previous Page IconTo Previous Page
Loading...
3. NORMAL CHARGE INSTRUCTIONS ALL MODELS
3.1. Preparation
It is important to correctly prepare for charging ensuring you follow chapter 1 safety regulations carefully. Check that the capacity of the battery is compatible with charger output.
3.1.1.
Follow any vehicle manufacturers instructions regarding the charging of a battery. Note special instructions for the charging of non removable vehicle batteries.
3.1.2. Check the battery to ensure that the NEGATIVE & POSITIVE terminals are clearly identifiable before removing the battery from the vehicle.
3.1.3. Subject to 3.1.1. above, disconnect and remove the battery from the vehicle and place in an appropriate safe area according to chapter 1 ready for charging.
3.1.4. Remove the battery electrolyte cover or caps to allow the gases produced by charging to escape.
3.1.5.
Check that the electrolyte is covering the plates inside. If not add distilled water so that the plates are covered to 5-10mm.
3.1.6. The correct charging status of the battery may be determined by use of a hydrometer which will measure the specific density of the electrolyte.
The following information indicates kgs/L at 20C as a reference point: 1.28 = Loaded battery 1.21 = Half- loaded battery 1.14 = Nil loaded battery.
p
p
p
W
ARNING! be cautious and vigilant as the electrolyte is a highly corrosive acid.
3.2. Connecting the charger to the battery.
Ensure the battery charger is unplugged from the mains power supply before connecting power leads to the battery.
3.2.1. For chargers with dual Volt output, set the charger voltage to match that of the battery Voltage: i.e. 12 or 24Volts.
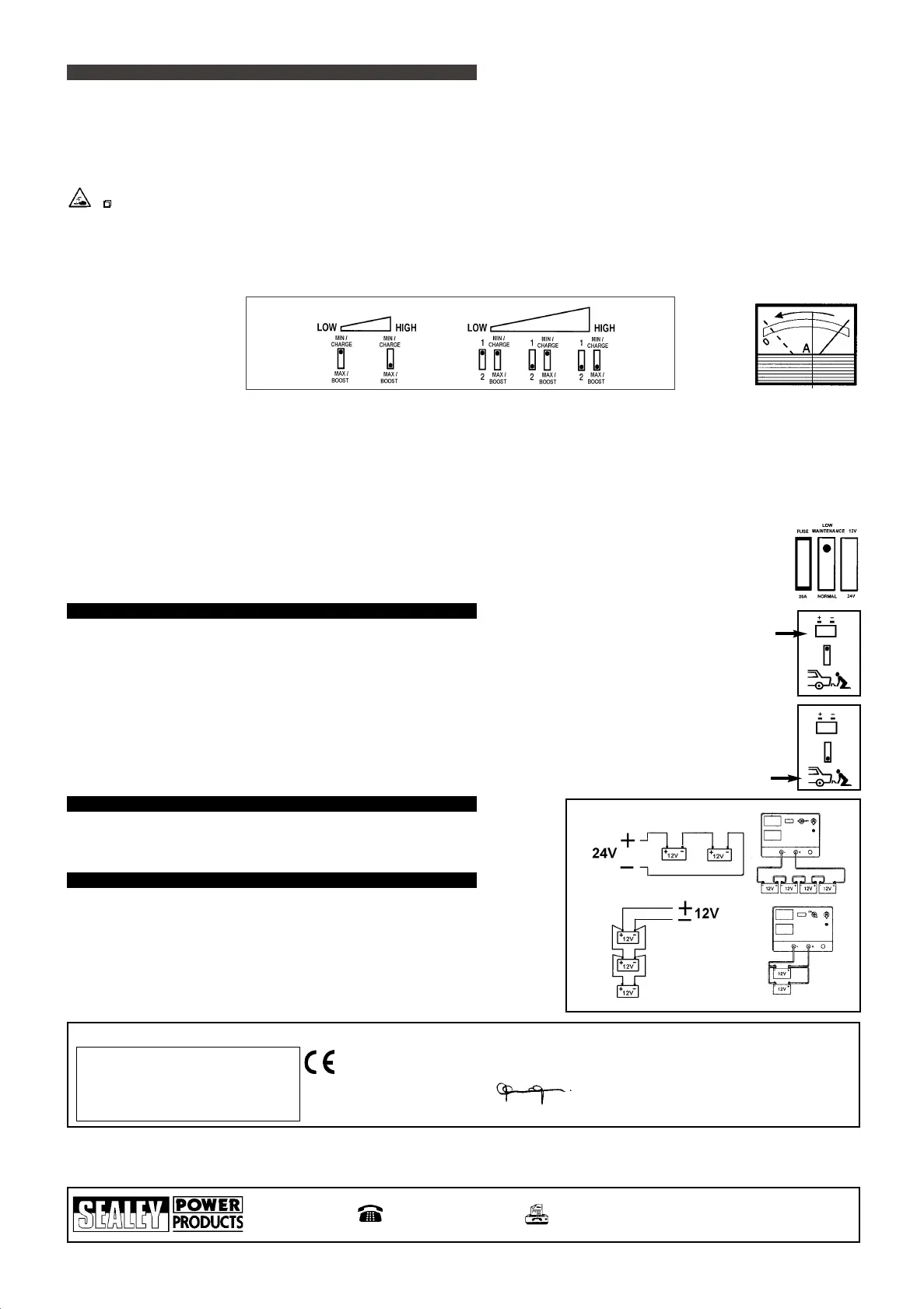
3.2.2. Set the rate of charge to that required by using switches according to the table in fig 1. Slow charging = Low, through to quick charging = High. Set Booster models to battery (fig 4a).
3.2.3. Check the charger clamps and battery terminals to ensure they are clean and free from oxidation.
3.2.4. Connect the chargers POSITIVE (Red or +) lead to the POSITIVE (+) terminal on the battery, and the NEGATIVE (Black or -) lead to the NEGATIVE (-) terminal on the battery.
3.3.
Charging the battery
3.3.1. Connect the charger to the mains power supply and switch the charger on.
3.3.2. Check the current delivery to the battery by reading the ammeter on the front of the battery charger. During the charge the pointer on the ammeter will slowly decrease (move
the the left) according to the capacity and condition of the battery (See fig 2 dial face may vary according to model of charger).
3.3.3. To indicate that the battery is fully charged the reading on the ammeter should be at the 0 output indicator. To correspond with this the electrolyte in the battery will begin to boil.
Stop charging at this point in order to protect the battery plates from oxidisation and keep the battery in good condition.
3.3.4. Switch the charger off and unplug from the mains power supply. Disconnect the power clamps, clean and store the charger in a safe, dry area.
3.3.5. Replace the battery electrolyte cover or caps. Wipe up any splashes or spillage (remember the electrolyte is a corrosive acid). Return the battery to the vehicle and secure according
the manufacturer
s instructions, and re-connect the power leads. Check to ensure all tools and non related items are removed before closing the bonnet.
3.4. p WARNING! LOW or SEALED NO MAINTENANCE BATTERY CHARGING
3.4.1. ALL MODELS EXCEPT THE 40/1.
Should you need to charge a low, or no maintenance battery take very special care to ensure you use only a LOW slow charge. Use a battery test
to continually check the voltage input where the clamps attached to the batter. When the input reaches 14.4Volts stop the charging process.
3.4.2. MODEL SUPERCHARGE 40/1.
The 40/1 has been designed for charging fully sealed, No, or low maintenance batteries to overcome the dangers mentioned in 3.4.1. Press switch to Low
Maintenance (fig 3) and the unit will automatically stop when battery is fully charged. A standard battery may be charged by switching to Normal.
4. FAST START INSTRUCTIONS SUPERBOOST MODELS ONLY
The Superboost range of chargers (see chapter 2) are combination units capable of both charging batteries and providing boost power to start vehicles with flat batteries.
To charge a battery under normal circumstances refer to chapter 3. To start a vehicle which has a flat battery follow steps below.
4.1.1. Check the vehicle manufacturers hand book and follow any special instructions, and check that the battery is in good condition.
4.1.2. Ensure the charger is disconnected from the mains power supply and set the charge mode switch (fig 4a) to the battery symbol.
4.1.3. For models with dual Volt output, set the charger voltage switch to the same as the battery Voltage: i.e. 12 or 24Volts.
4.1.4. Check the charger clamps and battery terminals to ensure they are clean and free from oxidation.
4.1.5. Without removing the power leads that connect the battery to the vehicle, connect the Superboost POSITIVE (red) lead to the POSITIVE (+) terminal on battery,
and the NEGATIVE (black) lead to NEGATIVE (-) terminal on the battery.
4.1.6. Place charger switches to Max/Boost (fig 1). Plug charger into mains power supply and turn the charger on. Allow the battery to charge for 2-3 minutes.
4.1.7. When the quick charge has been completed, change the charge mode switch from battery to Boost (fig 4b).
4.1.8. Turn on the vehicle ignition and crank the engine for a MAXIMUM of 10 seconds.
p WARNING! if the vehicle does not start within this time DO NOT continue as vehicle battery and electrical circuit may be damaged, and the fuse in the charger
will blow . Should the vehicle fail to start, disconnect the charger and investigate for possible failure.
4.1.9.
When the vehicle is running successfully, switch the Superboost off, unplug from the mains power and disconnect the power terminals from the battery.
5. SIMULTANEOUS CHARGING
A number of batteries may be charged at the same time. To do so we recommend the use of a series connection
to control the circulating current in each battery. The circulating current indicated on the ammeter will be the same
in each battery being charged. Fig 5 illustrates the use of both series and parallel connections.
NOTE: For a serial connection joining two 12Volt batteries, we recommend the charger is set to 24V if available.
6. SAFETY CUT OUT
Your charger is equipped with a safety cut out protection which will cut the units power in the following circumstances:
a) Overload: too high a current to the battery.
b) Short circuit: clamps touch, or the polarity on battery is reversed.
c) Prolonged starting attempts.
Should the fuse blow take the following action:
6.1. Turn the unit off and disconnect from the mains power supply.
6.2. Allow the unit to cool down, establish the reason for failure and correct the situation.
6.3. Replace the fuse (for boosters remove small panel at rear of charger). Use only Sealey replacement parts.
DO NOT use a fuse with copper bridges or similar as these will damage your equipment.
Refer to chapter 2 for fuse information and part numbers.
Declaration of Conformity We, the sole importer into the UK, declare that the products listed here are in conformity with the following EEC standards and directives
The construction file for these products is held by the Manufacturer and may be inspected
on request by contacting Jack Sealey Ltd
For Jack Sealey Ltd.
Sole importer into the UK
of Sealey Power Products
Battery chargers Models Supercharge
10/1,15/1,30/1,40/1. & Superboost 140,
160, 180, 200.
73.23/EEC
Low Voltage Directive (S.I. 1994/3260)
Signed by John Sealey
Date 1st June 1998
NOTE: It is our policy to continually improve products and as such we reserve the right to alter data, specifications and component parts without prior notice.
IMPORTANT: No responsibility is accepted for incorrect use of this product. WARRANTY: Guarantee is 12 months from purchase date. Proof of purchase will be required for any claim.
INFORMATION: Please call us for a copy of our latest catalogue
01284 757500
E-mail:
sales@sealey.co.uk
01284 703534
Sealey Group,
Bury St. Edmunds,
Suffolk.
fig 1
fig 2
fig 4b
fig 4a
fig 5
1 switch / 2 position models
2 switch / 3 position models
Medium
fig 3
SUPER charge-boost - 090698

Related product manuals