EasyManua.ls Logo

Sears C970-5121 - Top;Drawer

Sears C970-5121
11 pages
Print Icon
To Next Page IconTo Next Page
To Next Page IconTo Next Page
To Previous Page IconTo Previous Page
To Previous Page IconTo Previous Page
Loading...
Publication No: 5995512414 C970-512125
04/08 6
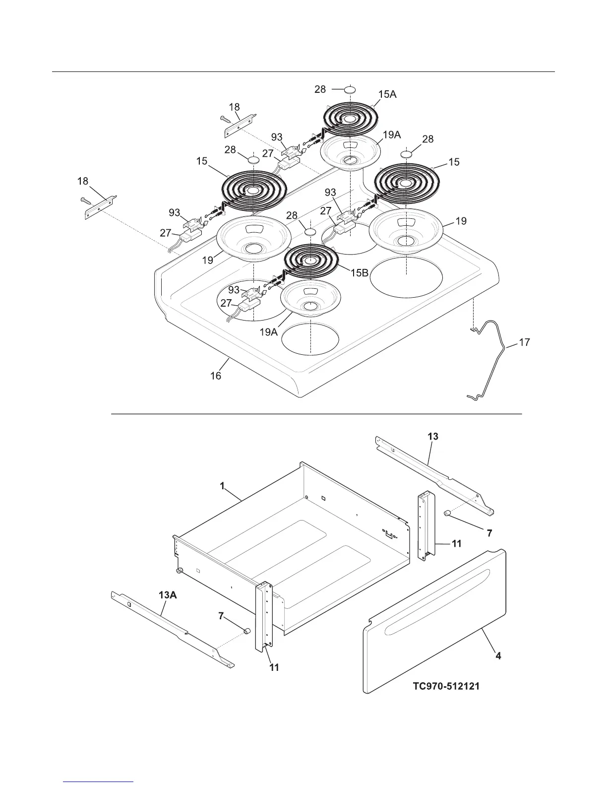
TOP/DRAWER

Related product manuals