EasyManua.ls Logo

Seg HighTECH Line - Page 13

Seg HighTECH Line
42 pages
Print Icon
To Next Page IconTo Next Page
To Next Page IconTo Next Page
To Previous Page IconTo Previous Page
To Previous Page IconTo Previous Page
Loading...
TD_MRI1_06.05_GB 13
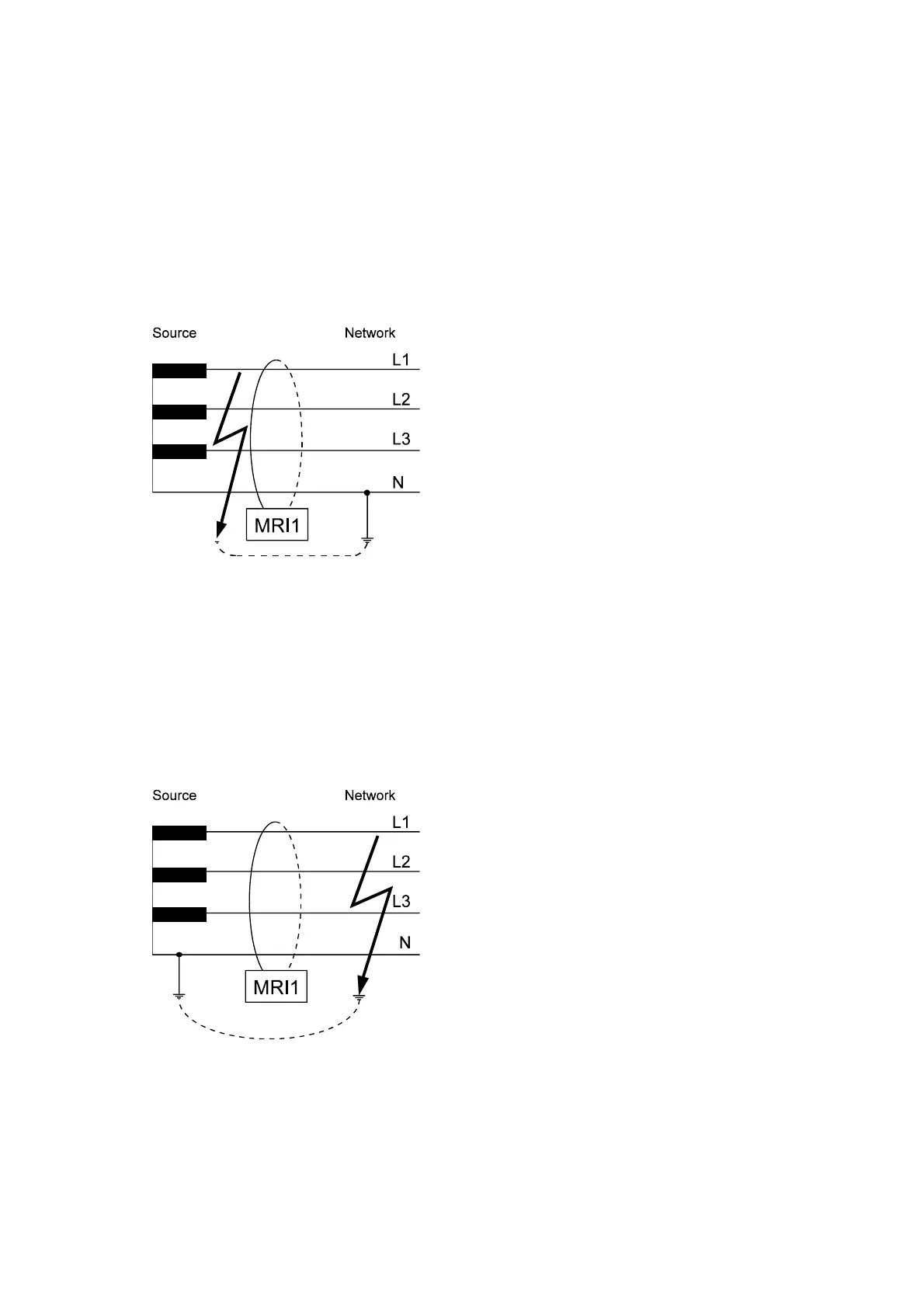
4.4 Earth fault protection
4.4.1 Generator stator earth fault
protection
With the generator neutral point earthed as shown in
figure 4.4 the MRI1 picks up only to phase earth faults
between the generator and the location of the current
transformers supplying the relay.
Earth faults beyond the current transformers, i.e. on the
consumer or line side, will not be detected.
Figure 4.4: Generator stator earth fault protetion
4.4.2 System earth fault protection
With the generator neutral point earthed as shown in
figure 4.5, the MRI1 picks up only to earth faults in the
power system connected to the generator. It does not
pick up to earth faults on the generator terminals or in
generator stator.
Figure 4.5: System earth fault protection

Related product manuals