EasyManua.ls Logo

Sencore SG165 - Page 50

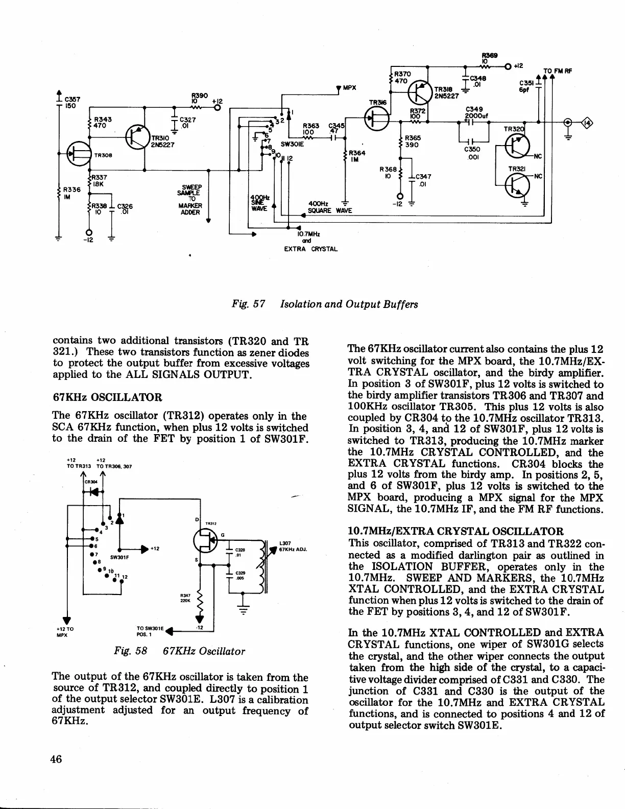
Sencore SG165
71 pages
Print Icon
To Next Page IconTo Next Page
To Next Page IconTo Next Page
To Previous Page IconTo Previous Page
To Previous Page IconTo Previous Page
Loading...
'
glogfirs
qc+rir{,s
ro+celas
1nd1no
Jo ZT
prre
?
suoBrsod
o+
pa+cauuoc
q
pue
'suorlcurg
TVISIUC
VUIXU
prrs zHl/lll'ol aq+
roJ
ro+Bllrcso
aq+
Jo
1nd1no
aW
q
gggC pu"
IggC
Jo
uorlctmf
aq;
'gggC
prre
IggC
go pasprdwoc
repF1p a8ellol
arrl
-rced"c
B
ol
'lepfrc
oql
Jo
apF
qEH
eq+
urorJ
ua{sl
1nd1no
aq+ s+cauuoc
radua
raqlo eql
pus
'1upd.rc
eq1
Ecalas
CTggfi\S
go
radu,r
auo
'suoqclmJ
TVISIUC
vurxg
pus
ogTTou.LNoc
TV.[X
zHIl[L'0T
aql
qI
',{Tggt\S
Jo ZI
pus'7'g
suorlrsod
dq
[g.{
oq+
Jo
urerp aql o+
por{4l
{s $ sllo^
61
snld uaqllt
uor+cunJ
TV.ISII,UC VU.IXS
aq+
pu"
'(ISTTOU,LNOC
TV,LX
ZHIAI/,'OI aq?
'SUUXUVW
CNV alggt\S
'zHllt/.'0T
aq+
q
dluo
salerado
'Ug.{.{ng
NOIMOSI
aql
q
pau{lno
sB rred uoq8u-rlrep
pa-rJlpou
s
sB
pa4cau
-uoc
ZZ,ES.I
pue
gIgUJ
Jo
pesFdtuoc
'.ro1e111cso
snl;,
UOTVITICSO TVTSAUC
VUTXU/ZHIA['.'
OI
'suoqcrmJ
.{U l{.{
aql
pus
'.{I
zHI
I
4gT
aW
'TVNCIS
XdIl1I
aql roJ
FrrEF
XdIl1I
e
Et4cnpo.rd
'preoq
Xdtlt
aql ol
paq4ltas
sl sllo^
61
snld
'.tTggtts
Jo
g pus
'g'Z
suoqrsod
u1
'due
dp4q
aql
tuo4y
EIo^
61
snld
aq+
qcolq
70guc
'suoqcrmJ
TVJ|sluc
vuJ,xu
aq?
pu"
'(ItrTTouINoc
TV.[SI\,UC
zHI^tr/,'oI
aql
ra{ruru zHI^t/,'gI
aq1
Ewcnpo.rd
'gIgUI
ol
paqqr
,ts
sI
slloA
61
snld
'.tlggfits
lo
ZT
pue
'?
'g
uo111sod
u1
'gTgU;,
ro+Bllrcso
zHI4[r,'gI
aq+ o+
?ggUC
fq
paldnoc
os1e
q
sllo^
61
snld sTrI;,
'gggg.t
rolellrcso
ZHX6SI
pus
/,09U,[
pu? gggg;
s.rols$usrl.raqrqdure
dprlq
aqt
o+
paqclr^,s
$ s+Io^
61
snld
'.{I0g11lS
Jo
g
uorlrsod
u1
'.raggdure
dpqq
aql
puu
'rolqpcso
TV;,SIUC
VU;
-XU/zHIl[
;1T
aq1
'preoq
XdI4[
aq? roJ
Euqclrns
?Io^
U I
snld
eql sumluoc
osIB
+ua.Lrnc
ro+Bllrcso
zHylg
eq;,
9V
.ZTTNL9
Jo
zfcuanba.q
1nd1no
rru
roJ
palsnfp"
lueurlsnfpu
uorterqrpc
B slggT
'gT6gms
rolcalas
1nd1no
aql
Jo
I
uoT+rsod
o1
d11ca.r1p
peldnoc
prre
.U
TSU;,
Jo
ailnos
aq+
Iuo.r;
ua{s+
s.r
ro+BIIIcso
zH11/,g
aq+
;o
1nd1no
oq,L
rolDllrcso
zHXLg
gg
'E!,t
I'SOd
3tot,$s
ol
9(|t'
6a8f
to'
8Ze3
'tov
zH)|l9
t08'l
a08'go€uLol
ttt8l
ol
'.{Tggfitg
Jo
T
uoqrsod
dq
,lg.l
aq+
Jo
ulerp
aql ol
paqcllrls
sr sllol
g1
snld
uaqa
'uoqourg
zFIXLg
VCS
aql u-r
fluo
salurado (ZfgU;,)
rolel1cso zHyr.,g aq;,
uo,tvlTlcso
zH{]trLg
';,nil;,no
STVNCIS TTV
eq+ ot
paqddu
sa8allon
alrssacxa
worJ
raJJnq
1nd1no
aql
+ca+ord
o1
sapop
rauoz
s?
uoqcrmJ
sJol$sueq
oal
asaq,L (rcg
U;
prru
gggg.t)
sro+$sue.rl
1euolllpp"
o,lrl
srnuluoc
aattng
gdlng
puD
uorlnlosl
Lg
'&,{
1VISA83
VUIX3
prD
zHnl0l
ol
899U
u:loov
tGDrJVN
ot
it-rd{vs
d33,$S
3UVTIoS
zl{oot
3AV,l\
nl
t9eu
LZZ$TZ
orcul
6'CC
'o'T
8'g)=
LZZgNZ
SEUI
xdn
Ol Z1+
,io
qt
so
so
Itoei
s
L'
9

Related product manuals