EasyManua.ls Logo

Sencore SG165 - Page 56

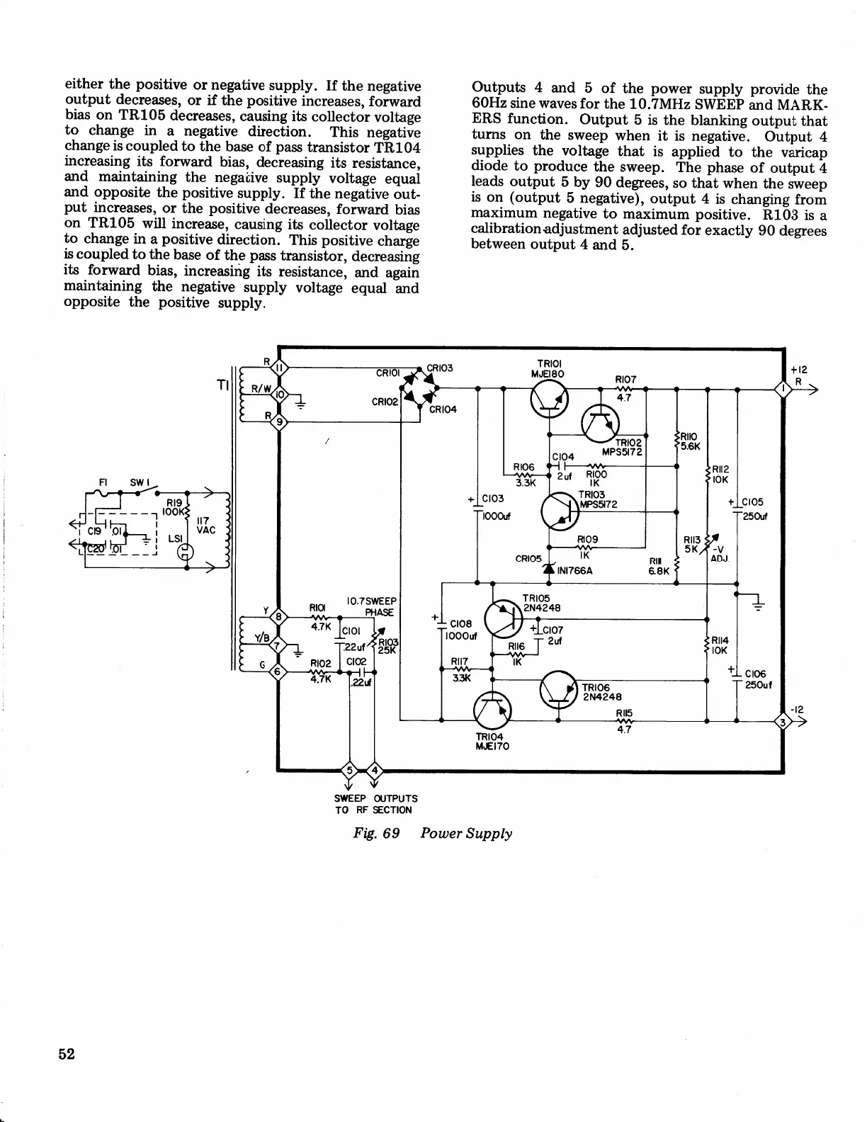
Sencore SG165
71 pages
Print Icon
To Next Page IconTo Next Page
To Next Page IconTo Next Page
To Previous Page IconTo Previous Page
To Previous Page IconTo Previous Page
Loading...
'g
prm
71nd1no
uoa/rrlaq
saar8ap
66
dpcexa
JoJ
palsnlpe
luaurlsntpeuor+BJqrlec
B
sI
ggTU
'elrlrsod
runrurxeru
o1
an4e8au
runrurx?ru
yorJ
Eut8ueqc
s
7
1nd1no
'(alqe8au
g
1nd1no)
uo
sI
daams
aql
uaq/(
lurll
os
'saarEep
06
dq
g
1nd1no
speal
7_
1nd1no
go
aseqd
eq;,
'daans
aql acnpord
o1 apop
ducuer
aq1
o1
pagdde
sr
1eq1
e8ello^
aq+
sallddnl
7
1nd1ng
'alrle8au
sr
lr
uaqrrr
daerns
aq1
uo
surnl
1eq1 1nd1no
Eur4uelq aq+
sr
g
1nd1ng
.uotscunJ
SUg
-xuvw
prrB
dflga\s
zHIAtr
r0T
aq+
roJ sa^e/$,
aurs zHog
aq+
appord
dlddns
renod
aql
Jo
g
pue
V
slndlng
z9
6g'E!,{
NOII-CS
JU OI
slndlflo
d33,t\s
'dlddns
aarlrsod
aq1
alrsoddo
pue_ pnba
e8ellol
dlddns
anrle8au
aq1
Fururulureu
uleFe
pue
'acu?+srsar
s+I
EglsBalcur
'selq
prBrrroJ
EI
Eupea.rcap
'.ro1srsuer1
ssed
e.{+
Jo
aseq
aq+
o+
paldnoa
sr
alreqc
alrlrsod
slq,L
'uorlcalrp
oarlrsod
e uI a8ueqc
o1
e8ellon
ro+ca[oc
s1r
Fursnuc
'asealcul
III^tr
qgTU;,
uo
serq
pJe/$,rog:
'seseelcap
alqrsod
aq1
lo
.sas?alcur
1nd
-
n9
a^l+€Feu
aq1g1
'dlddns
er4rsod
aq+
a+rsoddo
pue
pnba
a8ellorr
flddns
a me8au
aq1
Furu1elu.rerrr
pLrB
'acuelsrsal
s+r
Fursea.rcap
'selq
prslll.roJ
s1r
Eursuarcu-r
pgIU;
rolsrsrrer+
ssed
yo
as"q
aq+
o+
paldnoc
u
e8treqc
alpe8au
SFI;,
'uor+cafip
aarluFau
e
ur
a8ueqc
ol
a8ellol
Jolca11oc qr
Fursnec
'sas?arcap
9SIU;,
uo saq
pru/'aroJ
'sas?arcur
earlrsod
oq+
JI
lo
.sos?olcap
1nd1no
a4lu8eu
aq+
JI
'dlddns
alrleEeu
ro alr+rsod
aq1
raq+ra
fi1ddng ramod
7913
|
zolu
rorcl
yr'
9013
T,
IT

Related product manuals