EasyManua.ls Logo

SEVERIN FRD 8993 - Bediening en Display

SEVERIN FRD 8993
Print Icon
To Next Page IconTo Next Page
To Next Page IconTo Next Page
To Previous Page IconTo Previous Page
To Previous Page IconTo Previous Page
Loading...
- 46 -
Ventilatie
De achter het apparaat opgewarmde lucht
moet vrij kunnen circuleren. Daarom mag de
luchtcirculatie niet worden gehinderd.
Let op! Blokkeer geen ventilatieopeningen
op het achterste gedeelte van de bovenste
afdekplaten!
Aansluiting
Voor het aansluiten van het apparaat moet
gecontroleerd worden of het apparaat en het
netsnoer tijdens het transport niet bescha-
digd zijn.
Sluit het apparaat alleen aan op een volgen-
de de voorschriften geïnstalleerd stopcontact
met aardingscontact. De netspanning moet
overeenkomen met de spanning die op het
typeplaatje van het apparaat is aangegeven.
Het apparaat voldoet aan de richtlijnen, die
voor de CE-markering bindend zijn.
Sluit het apparaat niet op een omvormer
aan.
Het netsnoer mag de achterkant van het
apparaat niet aanraken om trilgeluiden te
voorkomen.
Het apparaat wordt in werking gesteld door
het netsnoer in het stopcontact te steken.
Om het apparaat volledig uit te schakelen
moet de stekker uit het stopcontact worden
gehaald.
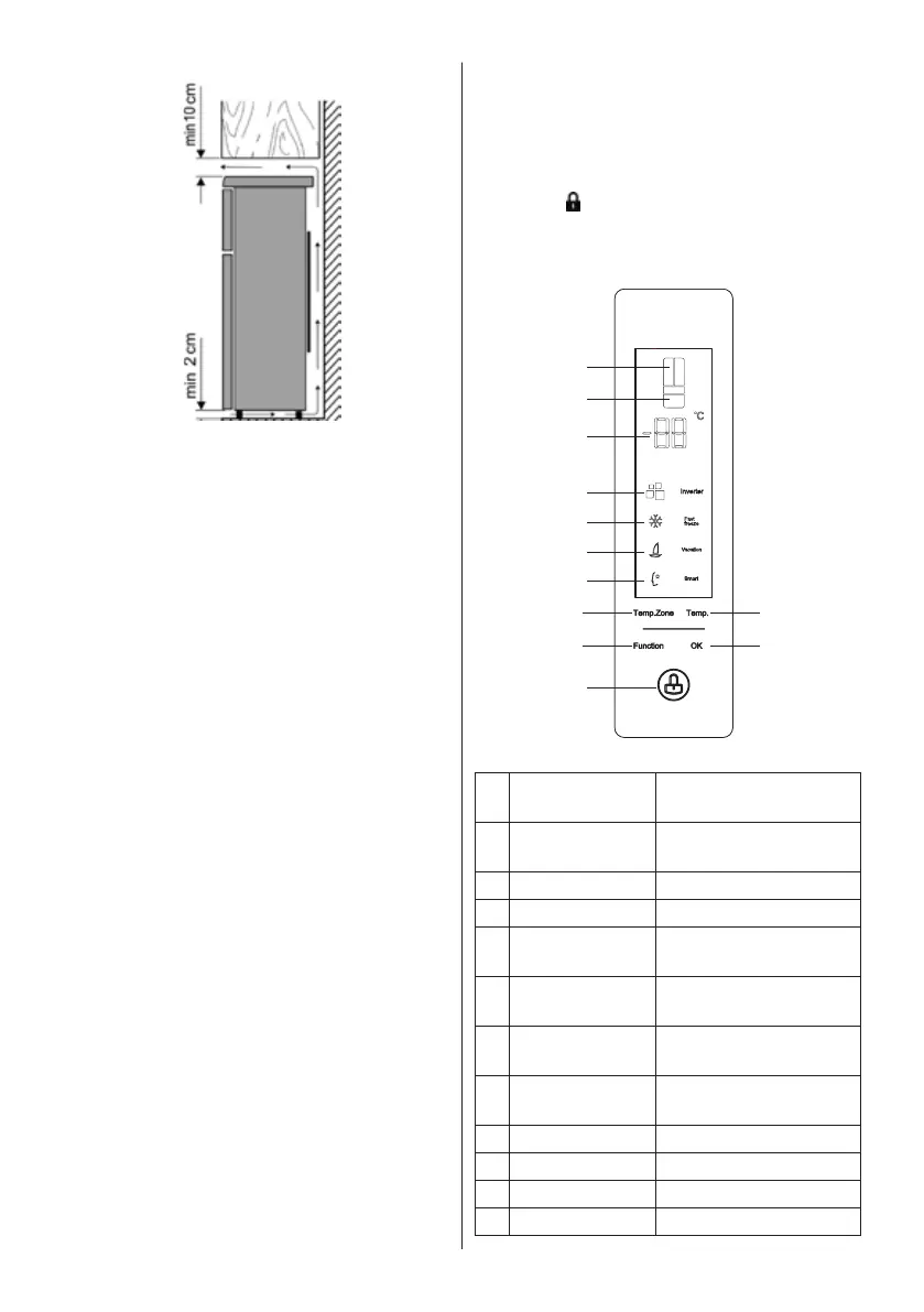
Bediening en display
Het apparaat wordt bediend met de toetsen
onder het display aan de buitenzijde van
de deur van de koelkast. Als de deuren van
de koelruimte gesloten zijn en er binnen 3
minuten geen knop wordt aangeraakt, gaat de
verlichting van de display uit.
Het Inverter symbool brandt altijd zolang
de compressor in bedrijf is.
Toetsblokkering
Het apparaat is uitgerust met een automa-
tische toetsblokkering. Om de instellingen
te wijzigen, drukt u eerst drie seconden op
de knop . Als er gedurende drie minuten
geen wijzigingen in het display worden
aangebracht, wordt de toetsblokkering weer
geactiveerd.
1
2
3
4
5
6
7
12
11
8
9
10
1 Weergave voor Temperatuurzone
koelkast
2 Temperatuurzone
diepvriezer
3 Temperatuur
4 Inverter
5 FastFreeze-Modus
(snel invriezen)
6 Vacation-Modus (va-
kantie)
7 Smart-Modus (energie-
besparing)
8 Toets voor het
kiezen van
Temperatuur
9 OK
10 Toetsblokkering
11 Functie
12 Temperatuurzone

Related product manuals