EasyManua.ls Logo

SEVERIN MW 7785 - Page 11

SEVERIN MW 7785
Print Icon
To Next Page IconTo Next Page
To Next Page IconTo Next Page
To Previous Page IconTo Previous Page
To Previous Page IconTo Previous Page
Loading...
11
142 x 208 mm
Microwave with grill function
Dear Customer,
Before using the microwave oven, read the following instructions carefully and keep this instruction manual for future
reference. The appliance must only be used by persons familiar with these instructions.
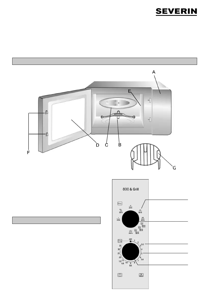
Appliance Design
GB
A Control panel
B Roller ring
C Glass turntable
D Viewing glass
E Protective cover
F Door locks
G Grill rack
Control Panel Design
1. Power setting range
2. Rotary control for power setting
3. Outer function range: ‘Defrost according to weight’
4. Inner time setting range (minutes)
5. Time setting rotary control
1
5
4
2
3

Related product manuals