EasyManua.ls Logo

SEVERIN MW 7785 - Page 3

SEVERIN MW 7785
Print Icon
To Next Page IconTo Next Page
To Next Page IconTo Next Page
To Previous Page IconTo Previous Page
To Previous Page IconTo Previous Page
Loading...
3
142 x 208 mm
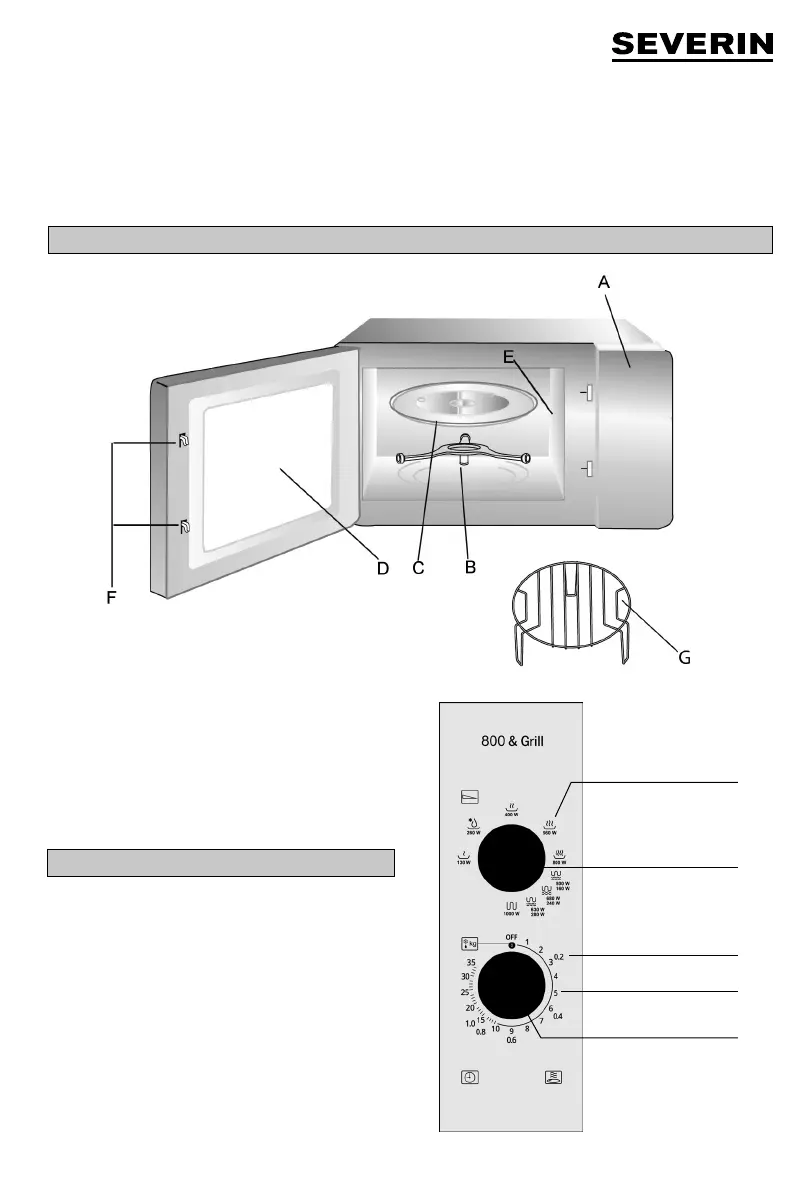
A Bedienfeld
B Rollring
C Glasdrehteller
D Sichtfenster
E Schutzabdeckung
F Türverriegelungen
G Grillrost
Aufbau Bedienfeld
1. Skala für Leistungseinstellung
2. Drehregler für Leistungseinstellung
3. äußere Skala für Funktion: ‚Auftauen nach Gewicht‘
4. innere Skala für Zeiteinstellung (Minuten)
5. Drehregler Zeiteinstellung
Mikrowelle mit Grillfunktion
Liebe Kundin, lieber Kunde,
die Gebrauchsanweisung sorgfältig vor der Benutzung des Mikrowellengerätes durchlesen und für den weiteren Gebrauch
aufbewahren. Das Gerät darf nur von Personen benutzt werden, die mit den Sicherheitsanweisungen vertraut sind.
Aufbau Gerät
DE
1
5
4
2
3

Related product manuals