EasyManua.ls Logo

Shaper Plate - Probe Points Usage

Default Icon
32 pages
Print Icon
To Next Page IconTo Next Page
To Next Page IconTo Next Page
To Previous Page IconTo Previous Page
To Previous Page IconTo Previous Page
Loading...
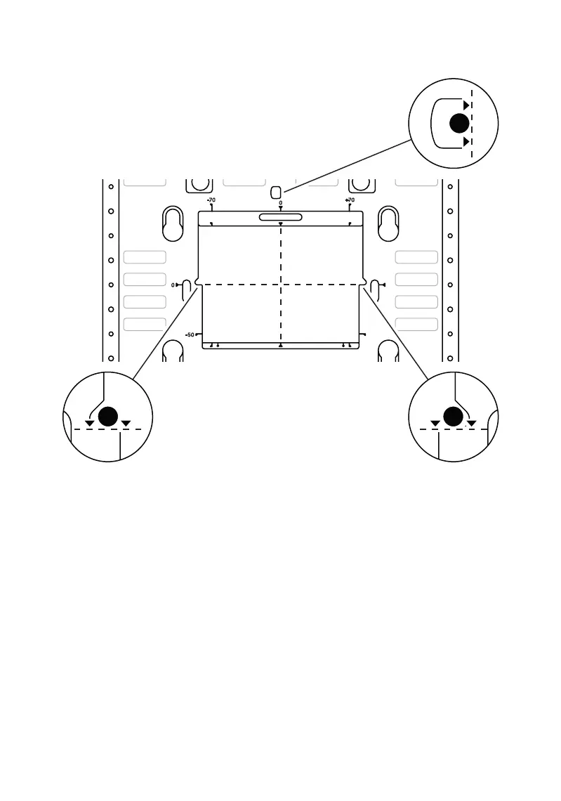
Probe Points
Points de référencement
Abtastpunkte
Plates cut window includes 3 probe points. Use Origin to probe the
points in order to create a Grid at the center of Plates cut window.
La zone de fraisage de Plate inclut 3 points de référencement. Utilise Origin
pour référencer les points afin de créer une grille au centre de la zone de
fraisage de Plate.
Es gibt drei Abtastpunkte im Fräsbereich von Plate. Taste diese Punkte mit
Origin ab, um ein Raster mit dem Nullpunkt in der Mitte des Fräsbereichs
von Plate zu erstellen.
14