EasyManua.ls Logo

Sharp EL-738XT - Statistical Calculation Formulas

Sharp EL-738XT
88 pages
Print Icon
To Next Page IconTo Next Page
To Next Page IconTo Next Page
To Previous Page IconTo Previous Page
To Previous Page IconTo Previous Page
Loading...
75
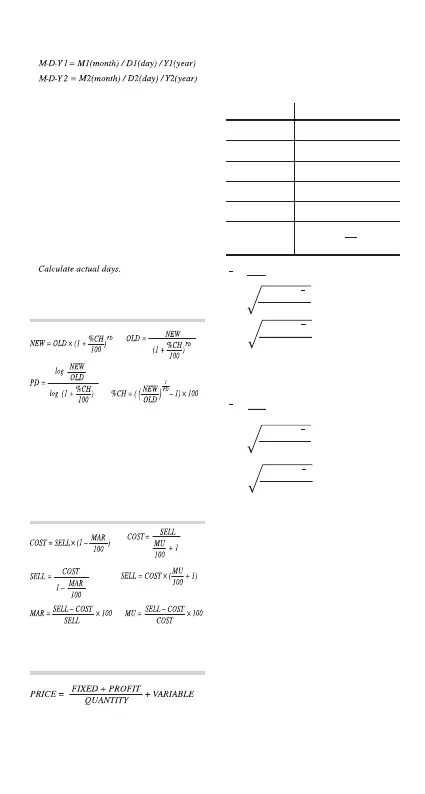
30/360
1. Adjust D1 and D2 according to the fol-
lowing rules:
(1) If D2 and D1 are both the last day of
February, change D2 to 30.
(2) If D1 is the last day of February,
change D1 to 30.
(3) If D2 is 31 and D1 is 30 or 31, change
D2 to 30.
(4) If D1 is 31, change D1 to 30.
2. Calculate using the following formula:
DAYS = (Y2 – Y1)
360 + (M2 – M1)
30 + (D2 – D1)
Actual
Percent change/Compound
interest calculations
where NEW = NEW PRC(FV), OLD = OLD
PRC(PV), %CH = %(I/Y), PD = PERIODS(N)
Error
%CH
–100
NEW
OLD
0
Cost/Sell/Margin/Markup
calculations
where MAR = MARGIN, MU = MARK UP
Breakeven calculations
Statistical Calcula-
tion Formulas
Type Regression formula
Linear
y = a + bx
Quadratic
y = a + bx + cx
2
Exponential
y = a • e
bx
Logarithmic
y = a + b •
In
x
Power
y = a • x
b
Inverse
1
y = a + b
x
x
=
x
n
Σ
s
x
=
x
2
– nx
2
n – 1
Σ
x
=
x
2
– nx
2
n
σ
Σ
x = x
1
+ x
2
+
···
+ x
n
Σ
x
2
= x
1
2
+ x
2
2
+
···
+ x
n
2
Σ
y
=
y
n
Σ
sy
=
y
2
– ny
2
n – 1
Σ
y
=
y
2
– ny
2
n
Σ
σ
y = y
1
+ y
2
+
···
+ y
n
Σ
y
2
= y
1
2
+ y
2
2
+
···
+ y
n
2
Σ
xy = x
1
y
1
+ x
2
y
2
+
···
+ x
n
y
n
Σ
An error will occur in a statisti-
cal calculation if:
The absolute value of an
intermediate or calculation
result is equal to or greater
than 1
10
100
.
The denominator is zero.
An attempt is made to fi nd
the square root of a negative
number.
No solution exists for a qua-
dratic regression calculation.

Related product manuals