EasyManua.ls Logo

Sharp LC-39LD145E - Block Diagram; Pinning

Sharp LC-39LD145E
108 pages
Print Icon
To Next Page IconTo Next Page
To Next Page IconTo Next Page
To Previous Page IconTo Previous Page
To Previous Page IconTo Previous Page
Loading...
44
LC-39LD145
LC-32LD145
33
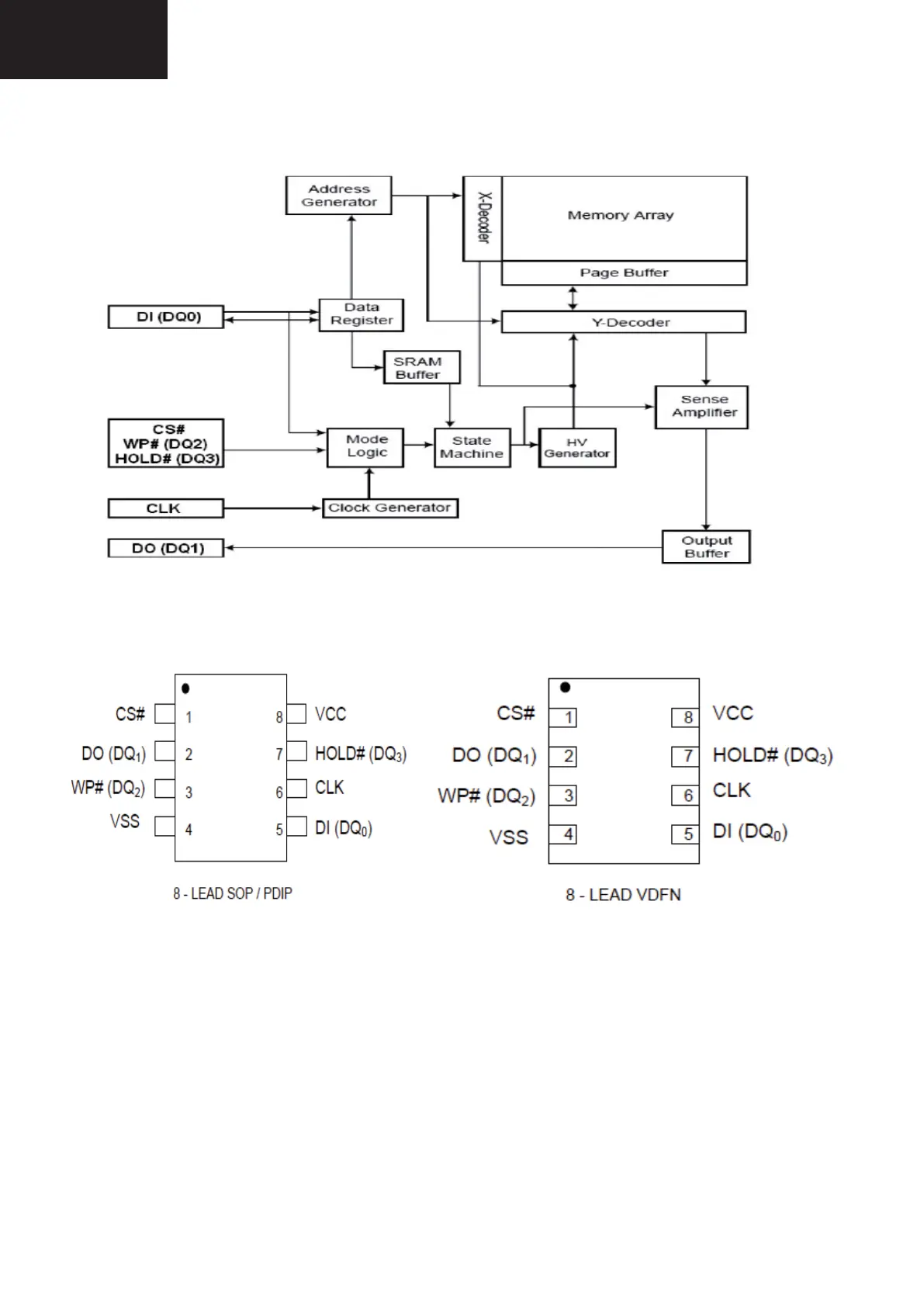
8.2.3 Block Diagram
8.2.4 Pinning

Related product manuals