EasyManua.ls Logo

Sharp RT-32H - Page 11

Sharp RT-32H
20 pages
Print Icon
To Next Page IconTo Next Page
To Next Page IconTo Next Page
To Previous Page IconTo Previous Page
To Previous Page IconTo Previous Page
Loading...
RT-32H(S)
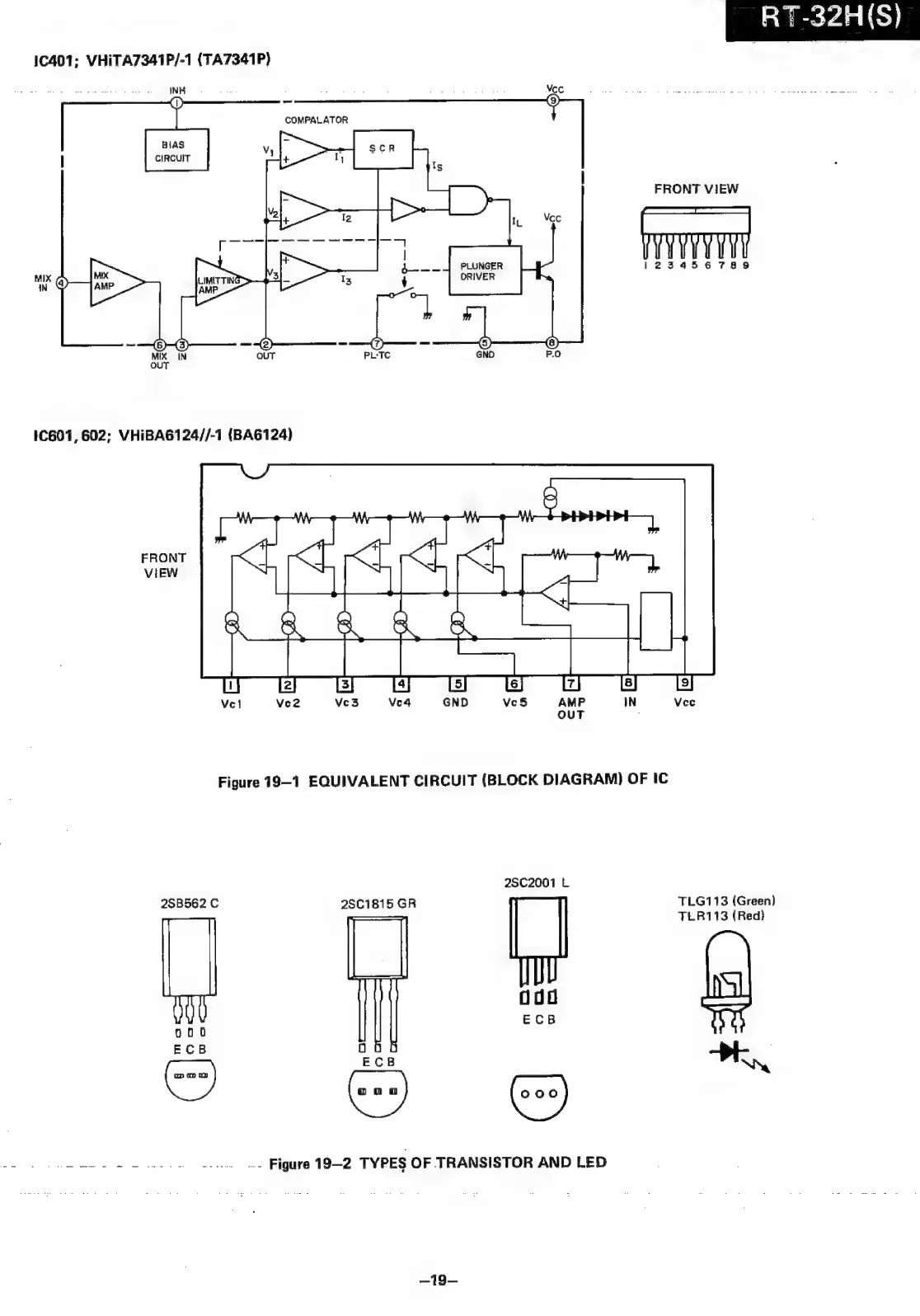
1C401;
VHiTA7341P/-1
(TA7341P)
-_
COMPALATOR
BiAS
CIRCUIT
FRONT
VIEW
PLUNGER
123456789
Mix
DRIVER
:
©)—(3)
MIX.
IN
OUT
PLTC
GND
P.O
OUT
FRONT
VIEW
Vel
Ve2
Ve3
Ve4
GND
Vce5
AMP
iN
Veco
OUT
Figure
19—1
EQUIVALENT
CIRCUIT
(BLOCK
DIAGRAM)
OF
IC
2SC2001
L
25B562
C
28C1815
GR
TLG113
(Green)
TLR113
(Red)
ECB
ooo
ECB
ae
—>}-
ou
..
Figure
19-2
TYPES
OF
TRANSISTOR
AND
LED
—19—

Related product manuals