EasyManua.ls Logo

Sharp VT-3418X - Page 15

Sharp VT-3418X
170 pages
Print Icon
To Next Page IconTo Next Page
To Next Page IconTo Next Page
To Previous Page IconTo Previous Page
To Previous Page IconTo Previous Page
Loading...
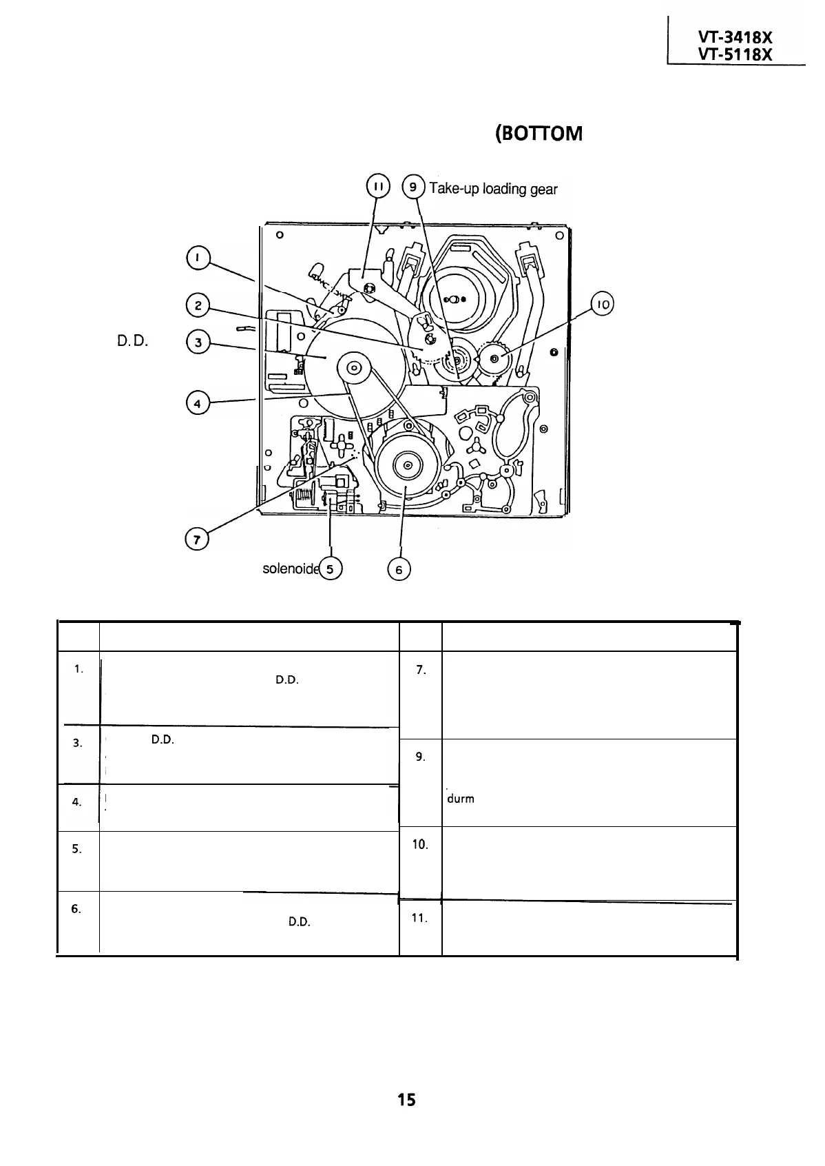
FUNCTION OF MAJOR
MECHANICAL PARTS
(BOmOM
VIEW)
Relay gear drive lever
Slow brake lever
I
x
Loading relay gear
Capstan
D.
D.
motor
3
o=
Reel belt
@-
d
Reel sensor
7
Brake
solenoide
5
()
/o
IO
Supply loading gear
d
Reel pulley
No.
Function
No.
Function
Slow brake lever
Gets in contact with the capstan
D.D.
motor linking to
the master cam in the slow still mode, and brakes it to a
certain degree.
Capstan
D-D.
motor
A motive power which runs the tape. It transmits the
power via the reel belt.
Reel belt
Transmits the power to run the tape to the reel pulley.
7.
Reel sensor
An element which sheds the light onto the reflection
plate affixed to the bottom side of the reel disk, and
detects the rotation of the reel disk through receiving
the reflected light.
9.
Take-up loading gear
Shifts the take-up pole base and guide roller via the
loading relay gear, and applies the tape around the
durm
assembly, as well as transmits the power to the
supply loading gear.
5.
6.
Brake solenoid
Adsorbs and holds the brake shifter in the fast forward
and rewind modes, and releases it in the stop mode.
Reel pulley
Transmits the power of the capstan
D.D.
motor to the
reel disk via the reel idler.
10.
.
Supply loading gear
Shifts the supply pole base and guide roller via the
take-up loading gear, and applies the tape around the
drum assembly.
11.
Relay gear drive lever
Transmits the movement of the master cam to the
take-up loading gear via the loading relay gear.
15

Related product manuals