EasyManua.ls Logo

Sharp VT-3418X - Page 60

Sharp VT-3418X
170 pages
Print Icon
To Next Page IconTo Next Page
To Next Page IconTo Next Page
To Previous Page IconTo Previous Page
To Previous Page IconTo Previous Page
Loading...
VCR E
-
E MODE
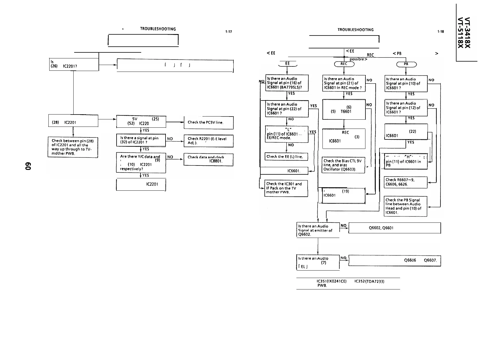
TROUBLESHOOTiNG
N
O
E-E signal.
FLOW CHART NO. 1-17
t
Is
there a signal at pin
(26)
of
IC2201?
NO
Check the harness from
f
AD
J
to
f
EL
J
and input signal line.
J
I
YES
I
,
-
NO
Is there a signal at pin
(28)
of
IC2201
?
t
Is there
5V
at pins
(25)
NO
and
(52)
of
lC220
1 ?
1
YES
L
&YES
r
clock signals at pins
(9)
and
(10)
of
IC2201
signals from
IC8801.
(
Replace
IC2201
)
VCR SOUND
TROUBLESHOOTTNG
FLOW CHART NO.
l-18
I
No Sound
I
<
EE
Sound is not heard >
I
EE
<
EE
Sound is heard
.,
But audio
REC
is not
<
PB
Sound is not heard
>
Check the ‘L” level at
pin(ll)oflC6601
in
Replace
IC6601.
)J
Is there Bias Oscillator
signal at pin
(6)
and
pin
(5)
of
T6601
(Bias
Oscillator) ?
YES
Check the
REC
Signal
line between pin
(3)
of
IC6601
and Audio
Head.
Check pin (19) of
IC6601
and peripheral
-
parts.
Is there an Audio
Signal at pin
(22)
of
NO
IC6601
?
Check the
“H’
level at
PB
mode.
-1
Check Q6602,Q6601 and peripheral parts.
IQ6602.
I
L
I
I
I
YES
Signal at pin
(7)
of
Check the Audio mute circuit;
46606
and Q6607.
1
f
ELJ
connector?
I I
YES
I
Check the
IC351
(IX0241CE)
and
lC352
(TDA7233) on the
TV mother
PWB.
I

Related product manuals