EasyManua.ls Logo

Sharp VT-3418X - Page 59

Sharp VT-3418X
170 pages
Print Icon
To Next Page IconTo Next Page
To Next Page IconTo Next Page
To Previous Page IconTo Previous Page
To Previous Page IconTo Previous Page
Loading...
VCR PLAYBACK MODE (LUMINANCE)
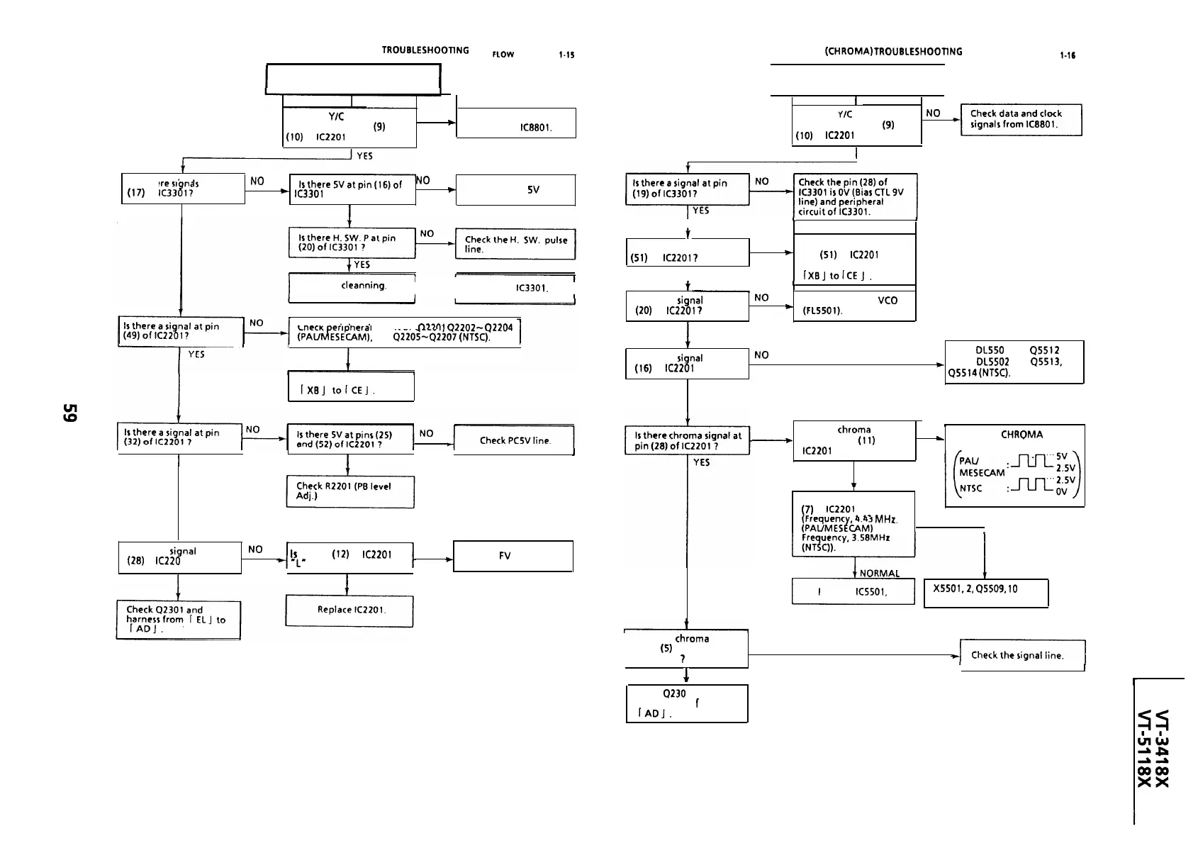
TROUBLESHOOTlNG
FLOW CHART NO. 1-15
VCR PLAYBACK MODE
(CHROMA)
TROUflLESHOOTlNG
FLOW CHART NO. 1-16
No Playback.
I
Playback is in black and white.
I
Are there
Y/C
DATA and
NO
Check data and clock
clock signals at pins (9) and
(10)
of
IC2201
respectively?
*
signals from
IC8801.
I
Are there
ri
nats
at pin
(17)
of
lC3381?
NQ
IsthereSVatpin(l6)of
+
IC3301
?
No
t
Check the PC 5V line.
YES
1
YES
Head
cleanning.
NO
GOOD
H
Replace
IC330
1.
I
Check
eripheral
circuit of
42201
Q2202-
42204
(PAVf&SECAM), and
42205~Q2iO7
(NTSC).
I
J
YES
Check the harness from
iXBJ
toICEJ.
I
I
I
1
YES
1
YES
I
I
1
t
Is there a
signal
at pin
NO
Is
the pin
(12)
of
IC2201
NO
(28)
of
IC220
1 ?
‘L”
level ?
t
Check
FV
signal line.
I
I I
I
I
1
YES
1
YES
I
I
Are there
v/C
DATA and
No
clock signals at pins (9) and
(10)
of
IC2201
respectively?
1
YES
I
L
1
I~
Is there a signal at pin
NO
Check all the way up to
(51)
of
IC2201
1
*
pin
(51)
of
IC2201
and
the harness from
YES
[XBJ
toiCE
J.
f
L
I
I
Is there a
signal
at pin
(20)
of
IC2201
7
YES
NO
Check and adjust VCO
*
(FLS501).
Is there a
signal
at pin
(16)
of
IC2201
?
YES
NO
Check DL550 1 and Q55
12
+
(PAL),
DL5502
and Q5513,
Q5514
(NTSC).
NO
Is there
chroma
rotary
NO
-
signal at pin
(11)
of
4
Check the
CHRQMA
IC2201
?
ROTARY line.
1,
YES
Check the signal at pin
(7)
of
IC2201
?
(Frequent
,4.43
MHz.
(PA”MESF!CAM,
ABNORMAL
1
Replace
IC5501.
X5501,2,
QSSOS,
10
and
peripheral circuit.
I
Is there a chroma signal
at pin (5) of CC
NO
connector
7
I
I
1
YES
I
1
Check Q230 1 and
harness from
f
EL J to
IADJ.

Related product manuals