EasyManua.ls Logo

Sharp VT-3418X - Page 63

Sharp VT-3418X
170 pages
Print Icon
To Next Page IconTo Next Page
To Next Page IconTo Next Page
To Previous Page IconTo Previous Page
To Previous Page IconTo Previous Page
Loading...
I
NO SOUND
I
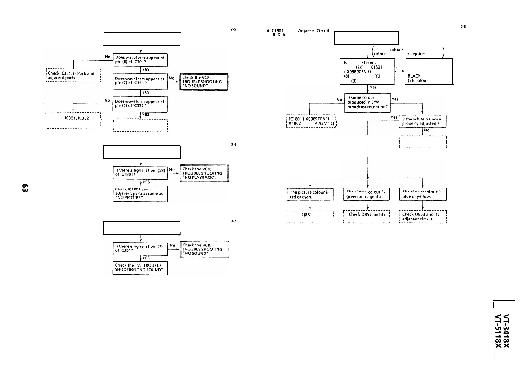
FLOW CHART NO.
2-S
Circuits to be checked:
FLOW CHART NO. 1-8
a
IC1801 and its
AdjacentCircuit
,
l
R.
G.
8.
Output Circuit
NO SPECIFIC COLOUR (PAL)
i
Check
IC35l,lC352
and
!
r----------
FLOW CHART NO.
2-S
NO PLAYBACK PICTURE
I
I
FLOW CHART NO. Z-7
NO PLAYBACK SOUND
I(
Specific colours are not produced in
colour broadcast
receptron.
1
.
Is
there a
chroma
signal
at pin
(20)
of
ICl801
(iX0969CEN
1)
and at pin
(8) of connector Y2 or
pin (3) of AD?
No
-
I
Check the VCR:
TROUBLE SHOOTING
‘RECORD IS IN
BLACK
AND WHITE
(EE
colour
mode)
j
adjacent parts
I
I
I
Check speaker.
I
I~--~_~~~___~~_-______I
I
i
Xl802
(PAL
4.43MH;)
i
I
L------------------A
L~~~~~~~~~~~~~~~~_~~__(
1
Check Q851 and its
;
i
adjacent circuits.
I
1
..---_---__--___-__a
The picture colour is
r-----------------mj
!
CheckQ852andits
!
i
adjacent circuits
I
,--------‘--------,
I
Readjust the white
1
1
balance.
I
..__---_---__--____a
The picture
colour
is

Related product manuals