EasyManua.ls Logo

Sharp VT-3418X - Page 64

Sharp VT-3418X
170 pages
Print Icon
To Next Page IconTo Next Page
To Next Page IconTo Next Page
To Previous Page IconTo Previous Page
To Previous Page IconTo Previous Page
Loading...
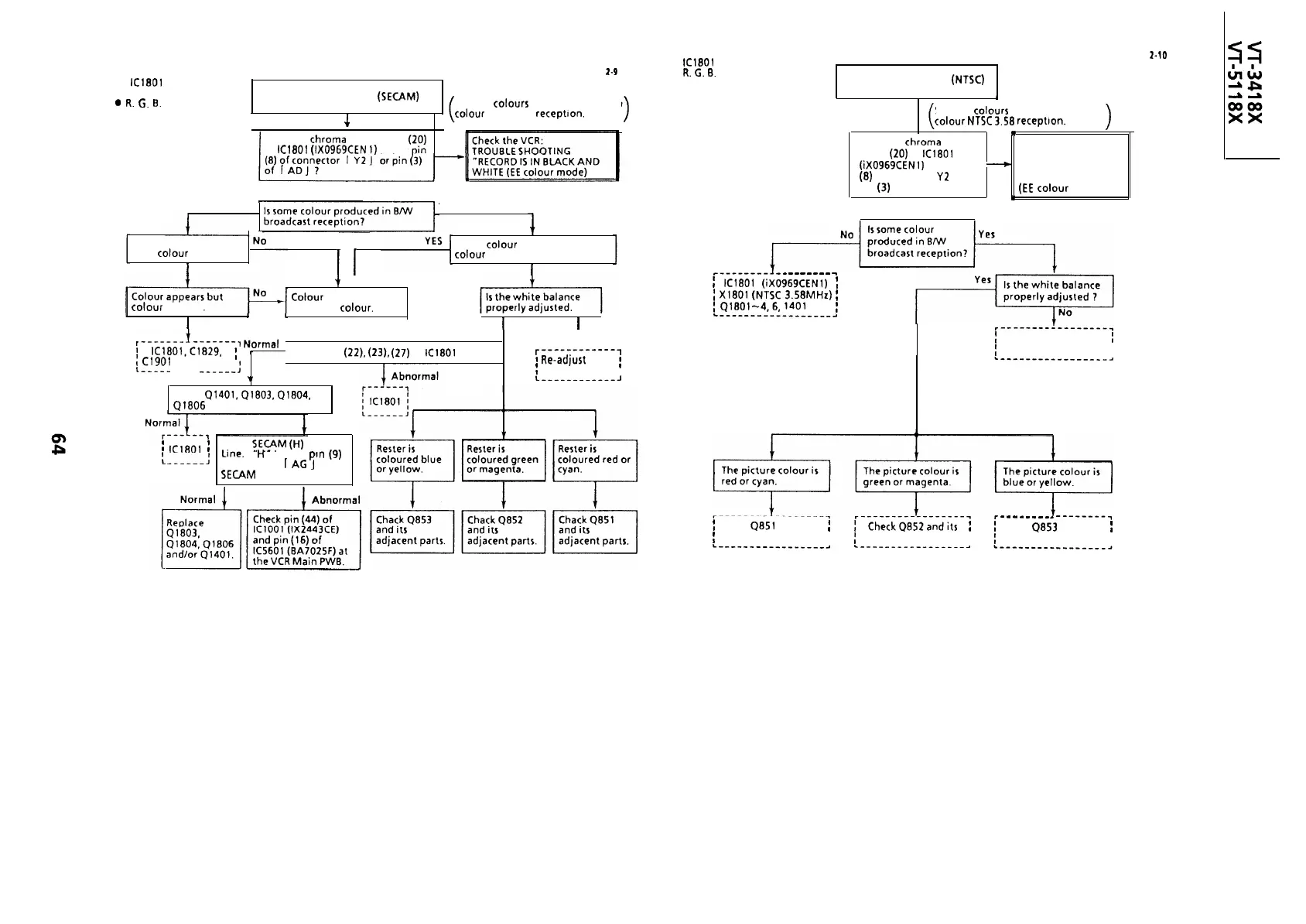
Circuits to be checked:
l IC1801 and its Adjacent
Circuit
e
R.
G.
IT.
Output Circuit
NO SPECIFIC COLOUR (SECAM)
J
FLOW CHART NO. 1-9
Specific colours are not produced in
colour broadcast receptron.
IS there a chroma signal at pin (20)
of IC1801
(IX0969CEN
1)
and at
No
No
-
When change channel No
does colour appear?
YES
1
YES
I
I
YES
When colour control minimum,
colour disappears.
1
No
t
t
colour shading.
Colour appears but
abnormal colour.
YES
j
I
I
I
1
YES
1
No
I
r-------f
-------,
Norma,
t
IC1801,C1829,
;
r
Check Pins
(22).
(23),
(27)
of
ICI801
bias.
I
Cl901
l-----
----
______:
,r
Check
Q1401,Q1803,Q1804,
Q1806
i
r------------1
I
Re-adjust the
i
1
white balance. I
L------------J
Abnormal
1
,c1801
;
Check
SE”M
(H)
Signal
:
______:
Line. (
H
level at pm (9)
of connector
f
AG
]
in
SECAM Mode.)
Circuits to be checked:
l
ICI801
and its Adjacent Circuit
l
R.
G.
8. Output Circuit
FLOW CHART NO.
Z-10
NO SPECIFIC COLOUR (NTSC)
,
4
Specific colours are not produced in
colour
NTSC
3.58
receptron.
>
*
Is there a
chroma
signal
Check the VCR:
at pin
(20)
of
ICI801
No
TROUBLE SHOOTING
(iX0969CENl)
and at pin
-
‘RECORD IS IN
(8) of connector Y2 or BLACK AND WHITE
pin (3) of AD?
(EE
colour
mode)
I
Yes
,--------l
-
-
-
-
-
-
-
-
-
_
j
ICI801
(iX0969CENl)
I
;
X1801 (NTSC
3.58MHr)
;
;
Q1801-4,6,
1401
I
L__________________4
r--------1--------,
1
Readjust the white
1
I
balance.
I
I
I
Check
Q851
and its
I
I
CheckQ852andits
i
I
adjacent circuits.
I
I
I
i
adjacent circuits
I
L-________-____--_a
c_______________--2
r
-
-
-
-
-
-
-
-
--------7
I
Check
Q853
and its
I
1
adjacent circuits.
I
I

Related product manuals