EasyManua.ls Logo

Sidewinder 5000 ESP - Page 4

Default Icon
32 pages
Print Icon
To Next Page IconTo Next Page
To Next Page IconTo Next Page
To Previous Page IconTo Previous Page
To Previous Page IconTo Previous Page
Loading...
4 © 2000 Directed Electronics, Inc. Vista, CA
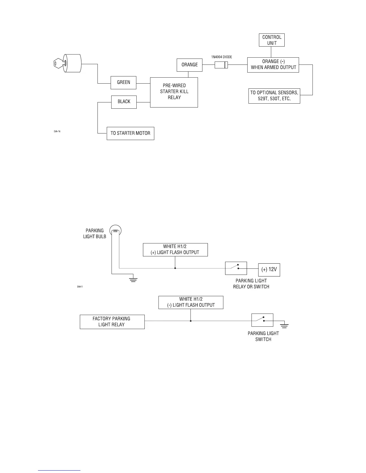
H1/2 WHITE (+/-) SELECTABLE LIGHT FLASH OUTPUT
As shipped, this wire should be connected to the (+) parking light wire. If the light flash polarity jumper under
the sliding door is moved to the opposite position (see Internal Programming Jumpers section of this guide), this
wire supplies a (-) 200 mA output. This is suitable for driving (-) light control wires in Toyota, Lexus, BMW, some
Mitsubishi, some Mazda, and other model cars.
H1/3 WHITE/BLUE 200 MA (-) CHANNEL 3 PROGRAMMABLE OUTPUT
This wire provides a 200 mA (-) output whenever the transmitter button(s) controlling channel three is pressed.
This output can be programmed to provide the following types of output (see System Features Learn Routine
section of this guide):
A validity output will send a signal as long as the transmission is received.
A latched output will send a signal continuously when channel three pressed and will continue until channel
three is pressed again.