EasyManua.ls Logo

Silverado 1500 - Page 90

Silverado 1500
1110 pages
Print Icon
To Next Page IconTo Next Page
To Next Page IconTo Next Page
To Previous Page IconTo Previous Page
To Previous Page IconTo Previous Page
Loading...
2-74 Vehicle Access
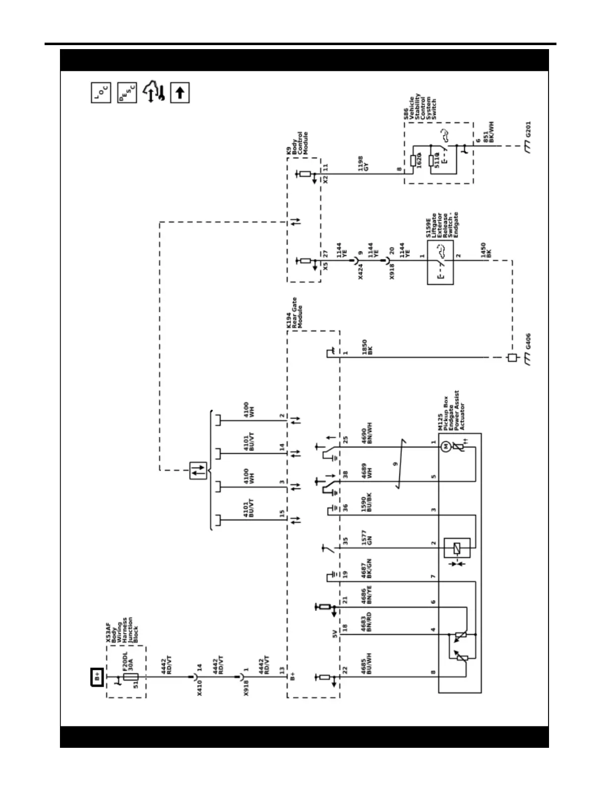
Endgate Schematics (Power Endgate Controls (QT6))
5967373
2022 - Silverado 1500 (New) Electrical Body Builder Manual