EasyManua.ls Logo

Silvercrest DC-5900 - Front Panel and Display Window; Front Panel Controls and Indicators

Silvercrest DC-5900
38 pages
Print Icon
To Next Page IconTo Next Page
To Next Page IconTo Next Page
To Previous Page IconTo Previous Page
To Previous Page IconTo Previous Page
Loading...
6
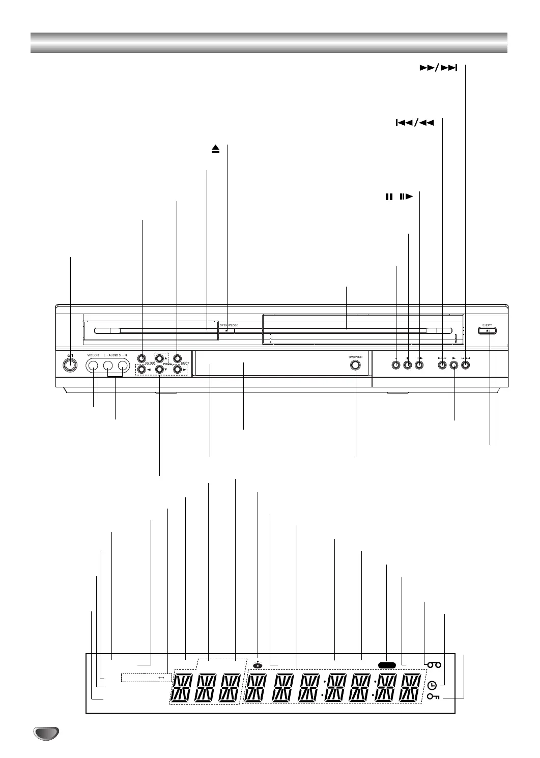
Front Panel and Display Window
Hi-Fi
STEREO
COPYBIL
CHPTRK
TITLEPROG
A B
ALLRPT
DVD
VCD
TV
REC
VCR
MP3
VCR deck is
selected.
DVD deck is
selected.
Video
CD is
inserted.
Indicates TV
mode.
(See Notes on
page 21.)
CHPTRK Indicates current chapter or track number
A disc is loaded in the DVD deck. (Lights when a disc is
loaded in the DVD deck and flashes when no disc is loaded.)
Bilingual mode
Indicates total playing time/elapsed time/current time
The current TV show or video is broadcast in stereo
Programmed playback active.
Indicates current title number
DVD to VCR copy is in progress
The Hi-Fi track of a
VHS tape is playing
VCR recording is engaged
MP3 disc is inserted.
Indicates repeat mode.
Cassette-In indicator
A timer recording
is programmed
or in progress
Child Lock is
engaged
Forward Skip/Scan, Fast-Forward ( )
Go to NEXT chapter/track.
Press and hold for two seconds for a fast forward search.
Winds the tape forwards.
Reverse Skip/Scan, Rewind ( )
Go to beginning of current chapter/track or to
PREVIOUS chapter/track.
Press and hold for two seconds for a fast
reverse search
Rewinds the tape.
STOP (
ÁÁ
)
Stops playback.
PAUSE (
/
)
Pause playback temporarily /
press repeatedly for frame-by-frame playback.
Tape Eject
Tape Compartment
PLAY ( G)
Starts playback.
DVD OPEN/CLOSE ( )
Opens or closes the disc tray.
Remote Sensor
Point the remote control here.
VCR Record
Display window
Shows the current
status of the unit.
DVD/VCR
Selector
DVD to VCR Copy Button
Video IN Jack
Audio IN (L/R) Jacks
ENTER
Acknowledge menu
selection
Disc Tray
Insert a disc here.
POWER
Switches the
unit to
ON or OFF.
FGDE(left/right/up/down)
-
Select an item in the menu
(
FGDE
).
-
Channel Programme Selectors
(PROG.
DE
).

Table of Contents