EasyManua.ls Logo

Silverline 380158 - Intended Use and Operation; Maintenance and Cleaning; Storage and Disposal

Silverline 380158
32 pages
Print Icon
To Next Page IconTo Next Page
To Next Page IconTo Next Page
To Previous Page IconTo Previous Page
To Previous Page IconTo Previous Page
Loading...
Airbrush Hobby Kit 6pce
5
silverlinetools.com
Intended Use
Atomising spray gun kit used for air-brush applications, powered by air from a propellant canister
or specialised air brush compressor.
All commercially-available airbrush paints or lacquers with a milky consistency are suitable for
use. Paint should be suitably thinned if necessary.
Coating will be
light at this point
Start
stroke
Pull
trigger
Release
trigger
End of
Stroke
Coating will be
heavy at this point
Correct
Wrong
Coating should be even
and wet when spraying
Before Use
Assembly
Screw one end of the Air Hose (7) onto the male threaded tting on the underside of the Air
Brush Body (1)
Screw either the Air Line Adaptor (8) or propellant Canister Adaptor (9), as appropriate, onto the
free end of the Air Hose (7)
Push the nozzle of the Siphon Lid (4) into the opening on the underside of the Fluid Nozzle (3)
The Paint Jars (5) are a screw t into the Siphon Lid (4)
Paint preparation
Mix any colour combinations required
Note: ONLY mix compatible paints, i.e. enamels with enamels, lacquers with lacquers etc
Mix thoroughly. Ensure the paint is free of lumps. It may be necessary to strain the paint before
spraying
Thin the paint as instructed by the paint manufacturer
IMPORTANT: Do not exceed 20 DIN viscosity. If necessary, an additional purchase of a viscosity
measuring cup conforming to DIN 53211 may be required if you intend to spray liquids close to
the maximum viscosity.
Note: When using quick-drying paints, it is advisable to clean or immerse the uid end of the air
brush in a suitable solvent between sprays.
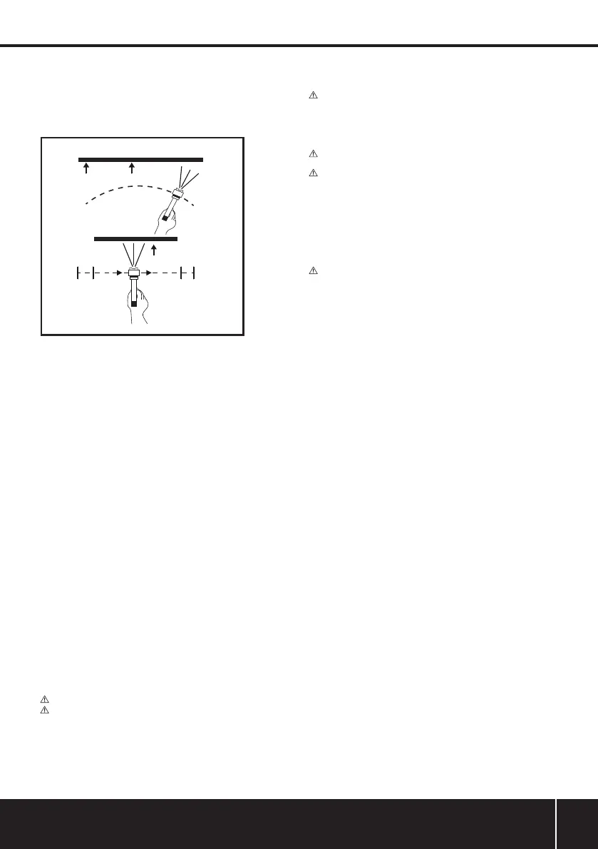
Spraying
Hold the air brush so that the front nozzle is approximately 150mm from the surface to be
painted
Depress the Air Control Valve (2) to begin spraying
Do not allow the air brush to stop moving whilst spraying. It is recommended that you practise
spraying on scrap material until you are comfortable with the required technique
Adjustment
The paint ow rate can be adjusted by rotating the Fluid Nozzle (3). Rotating the nozzle anti-
clockwise will increase paint ow. Rotating clockwise will reduce paint ow
WARNING Ensure adequate ventilation during use. Never spray near naked ames.
WARNING Be aware that air tools may hold residual pressure after use. Always bleed air
pressure from the tool after shutting off the air supply.
Maintenance
WARNING Always disconnect from the air supply and depressurise before cleaning or carrying
out any maintenance.
Cleaning
Note: To achieve the best results, the air brush must be kept clean and free of paint deposits, dirt
etc. Therefore, it should be disassembled and thoroughly cleaned immediately after each use.
WARNING All nozzles and needles are precision made. They must be handled with care.
Damage and alterations will cause decreased performance.
WARNING The uid needle has a long, sharp point and great care should be exercised when
handling it.
1. Remove the excess paint from the paint container used, wipe the inside thoroughly, including
the lid
2. Fill the paint container about half full of a suitable solvent
3. Spray into a suitable container to clean the needle and nozzle assembly
Note: To clean the remaining parts, disassemble and soak them in a suitable solvent, then blow
them clean with clean compressed air. Do not probe any of the holes in the nozzles with metal
instruments
WARNING Open solvent cleaning is not permitted in some territories, and special cleaning
procedures apply (e.g. cleaning inside special closed bags and containers, etc.). Familiarise yourself
with local regulations, and apply the recommended procedures.
Storage
Store this set of tools carefully in a secure, dry place inside its original case out of the reach of
children
Contact
For technical or repair service advice, please contact the helpline on (+44) 1935 382 222
Web: silverlinetools.com/en-GB/Support
UK Address:
Toolstream Ltd.
Boundary Way
Lufton Trading Estate
Yeovil, Somerset
BA22 8HZ, United Kingdom
EU Address:
Toolstream B.V.,
Holtum-Noordweg 11,
Unit 4,
6121 RE Born,
Netherlands
Disposal
As with other air tools, spray guns should not be disposed of with household waste
Spray guns may contain traces of solvents and paint, and must be recycled accordingly
Contact your local waste disposal authority for information on the correct way to dispose of
spray guns