EasyManua.ls Logo

Simplex 2120 - Page 31

Simplex 2120
40 pages
Print Icon
To Next Page IconTo Next Page
To Next Page IconTo Next Page
To Previous Page IconTo Previous Page
To Previous Page IconTo Previous Page
Loading...
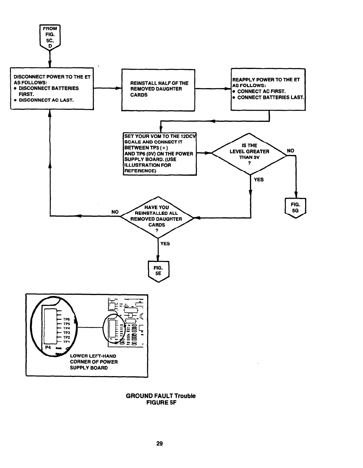
FROM
FIG.
SC,
P
D
DISCONNECT POWER TO THE ET
AS FOLLOWS:
l
DISCONNECT BAlTERlES
FIRST.
. DISCONNECT AC LAST.
.
REINSTALL HALF OF THE
REAPPLY POWER TO THE ET
* REMOVED DAUGHTER
- AS FOLLOWS:
CARDS
- . CONNECT AC FIRST.
. CONNECT BATTERIES LAST.
4
.
I
t
J
ISET YOUR YOM TO THE 12D4
SCALE AND CONNECT IT
BETWEEN TP3 (+)
AND TP6 (OV) ON THE POWER
SUPPLY BOARD. (USE
ILLUSTRATION FOR
I
YES
0
FIG.
5E
-
fER
LEFT-HAND
CORNER OF POWER
SUPPLY BOARD
I
YES
GROUND FAULT Trouble
FIGURE 5F
29
firealarmresources.com

Other manuals for Simplex 2120

Related product manuals