EasyManua.ls Logo

Singer 44S - Drop Point Of Needle

Singer 44S
30 pages
Print Icon
To Next Page IconTo Next Page
To Next Page IconTo Next Page
To Previous Page IconTo Previous Page
To Previous Page IconTo Previous Page
Loading...

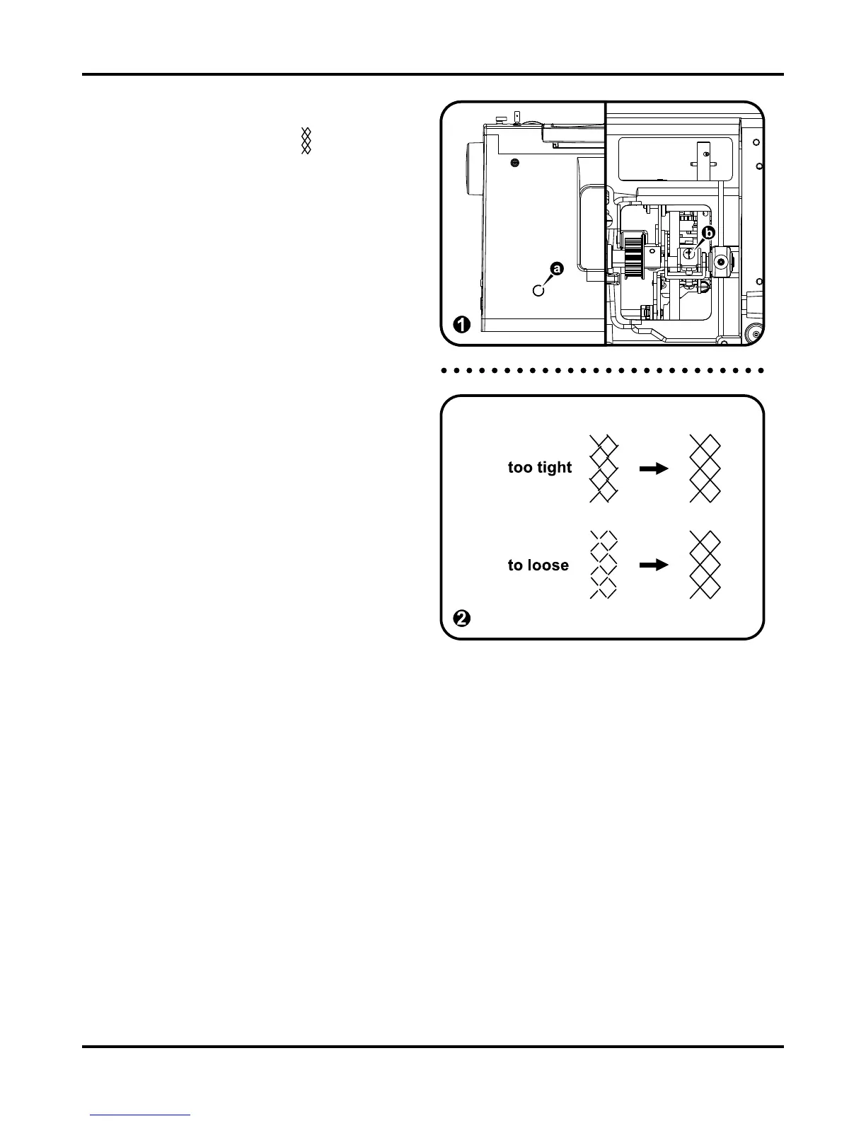
3-20 Drop point of needle
- Set pattern selector dial to " ".
- Place a piece of blank paper on top of the
needle plate and use presser foot to secure
paper by pressing presser bar lifter lever
down.
- Adjust the speed limiting adjustment
lever to the slow speed and step on the
foot controller lightly. Check if the needle
can drop in the same place while moving
forward and backward.
- If the drop point are not the same, take
apart the plate (a). (1)
- If the stitch is too tight, adjust the screw
of feed crank (b) anti-clockwise, and the
needle will go frontward (↓). (1 / 2)
If the stitch is too loose, adjust the screw of
feed crank (b) clockwise, and the needle will
go backward (↑). (1 / 2)