EasyManua.ls Logo

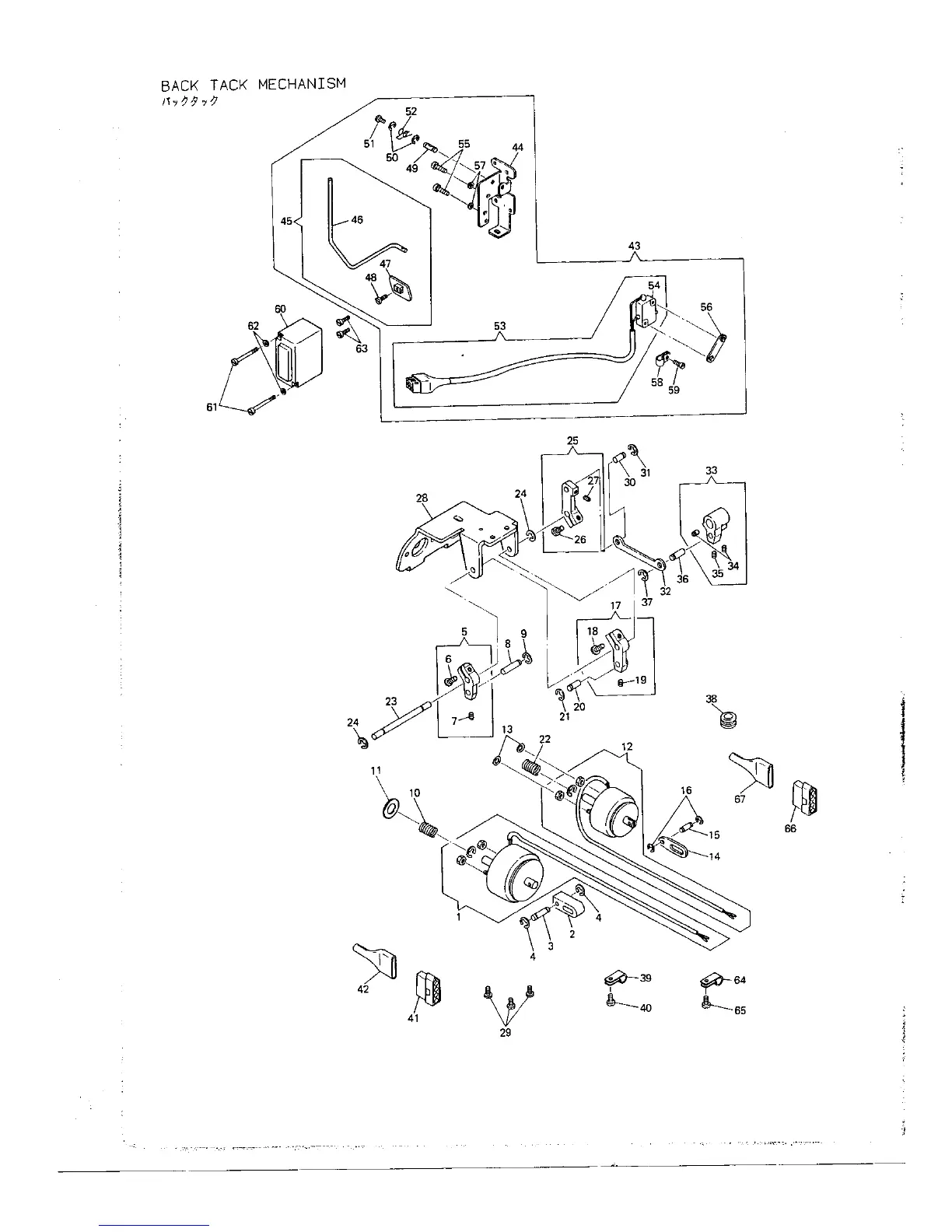
Singer 691 - Back Tack Mechanism

Singer 691
33 pages
Print Icon
To Next Page IconTo Next Page
To Next Page IconTo Next Page
To Previous Page IconTo Previous Page
To Previous Page IconTo Previous Page
Loading...

Related product manuals