EasyManua.ls Logo

Singer S0230 - General Threading Information

Singer S0230
32 pages
Print Icon
To Next Page IconTo Next Page
To Next Page IconTo Next Page
To Previous Page IconTo Previous Page
To Previous Page IconTo Previous Page
Loading...
GETTING READY TO SEW
General Threading Information
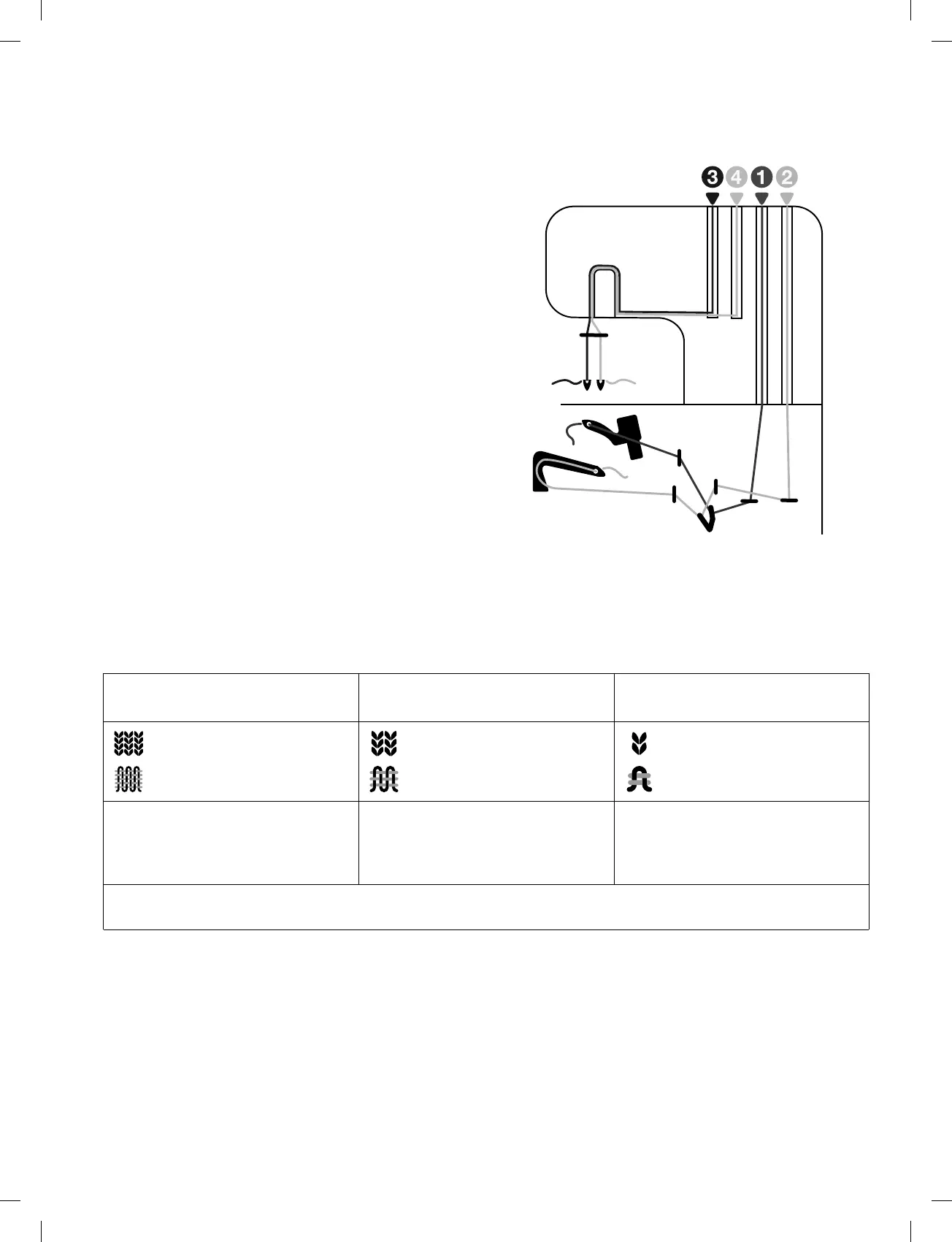
A color coded diagram is located inside the front cover for
quick reference (see illustration to the right). Always start
threading the loopers and then the needles from left to right
(follow the order listed below).
1. Upper looper - Red
2. Lower looper - Yellow
3. Left needle - Blue
4. Right needle - Green
Note: Always raise the presser foot before threading.
Important:
If the threads break during sewing, re-thread all thread
paths in the order listed below.
1. Unthread the needle(s)
2. Unthread upper and lower looper
3. Thread the upper looper
4. Thread the lower looper
5. Thread the needle(s) from left to right
See the table below for recommendations on what needles and thread to use for different fabric weights.
Tip: Your new machine is threaded to sew a 4-thread overlock (model S14-77 and S14-79). Tie your own threads to these threads
and carefully pull them through the machine, to easily thread your new overlock machine the first time (see page 18).
What Needle and Thread to Use with Different Fabrics
Light Fabric
(voile, crepe, georgette, etc.)
Medium Fabric
(cotton, chino, wool, satin, etc.)
Heavy Fabric
(denim, jersey, tweed, etc.)
Needles
size #12/80 needles, suitable for
overlock machines (SINGER®
Overlock needles #2022)
Needles
size #14/90 needles, suitable for
overlock machines (SINGER®
Overlock needles #2022)
Needles
size #14/90 needles, suitable for
overlock machines (SINGER®
Overlock needles #2022)
Thread
Thread suitable for overlock machines
Getting Ready to Sew 7
English

Table of Contents

Related product manuals