EasyManua.ls Logo

Singer SG2740 - Page 16

Singer SG2740
24 pages
Print Icon
To Next Page IconTo Next Page
To Next Page IconTo Next Page
To Previous Page IconTo Previous Page
To Previous Page IconTo Previous Page
Loading...
16
ΕΛΛΗΝΙΚΑ
ΣΙΔΕΡΩΜΑ ΜΕ ΑΤΜΟ
1. Γεμίστε το σίδερο με νερό όπως περιγράφεται στην παράγραφο «Γέμισμα με νερό».
2. Γυρίστε το διακόπτη ελέγχου ατμού στη θέση
.
3. Συνδέστε το φις στην πρίζα, η ένδειξη λειτουργίας θα
ανάψει για ένα δευτερόλεπτο και μετά σβήνει
4. Γυρίστε το διακόπτη ρύθμισης θερμοκρασίας δεξιόστροφα
στη θέση «MAX» με την ένδειξη
(Μη γυρίσετε το
διακόπτη στη θέση 1 κουκίδα ή 2 κουκίδες για σιδέρωμα με
ατμό).
5. Η ένδειξη λειτουργίας θα ανάψει και το σίδερο αρχίζει να
θερμαίνεται.
6. Όταν το σίδερο έχει την επιθυμητή θερμοκρασία, η ένδειξη λειτουργίας θα σβήσει.
7. Το σίδερο είναι έτοιμο για χρήση.
8. Ρυθμίστε τον ατμό μετακινώντας το διακόπτη
ατμού μπροστά και πίσω.
9. Μετά τη χρήση, γυρίστε το διακόπτη θερμοκρασίας αριστερόστροφα προς τη θέση
‘MIN’, στη συνέχεια σβήστε το σίδερο.
10. Βγάλτε το φις απο την πρίζα.
11. Μετά απο κάθε χρήση, ακολουθήστε τις οδηγίες αποστράγγισης του νερού.
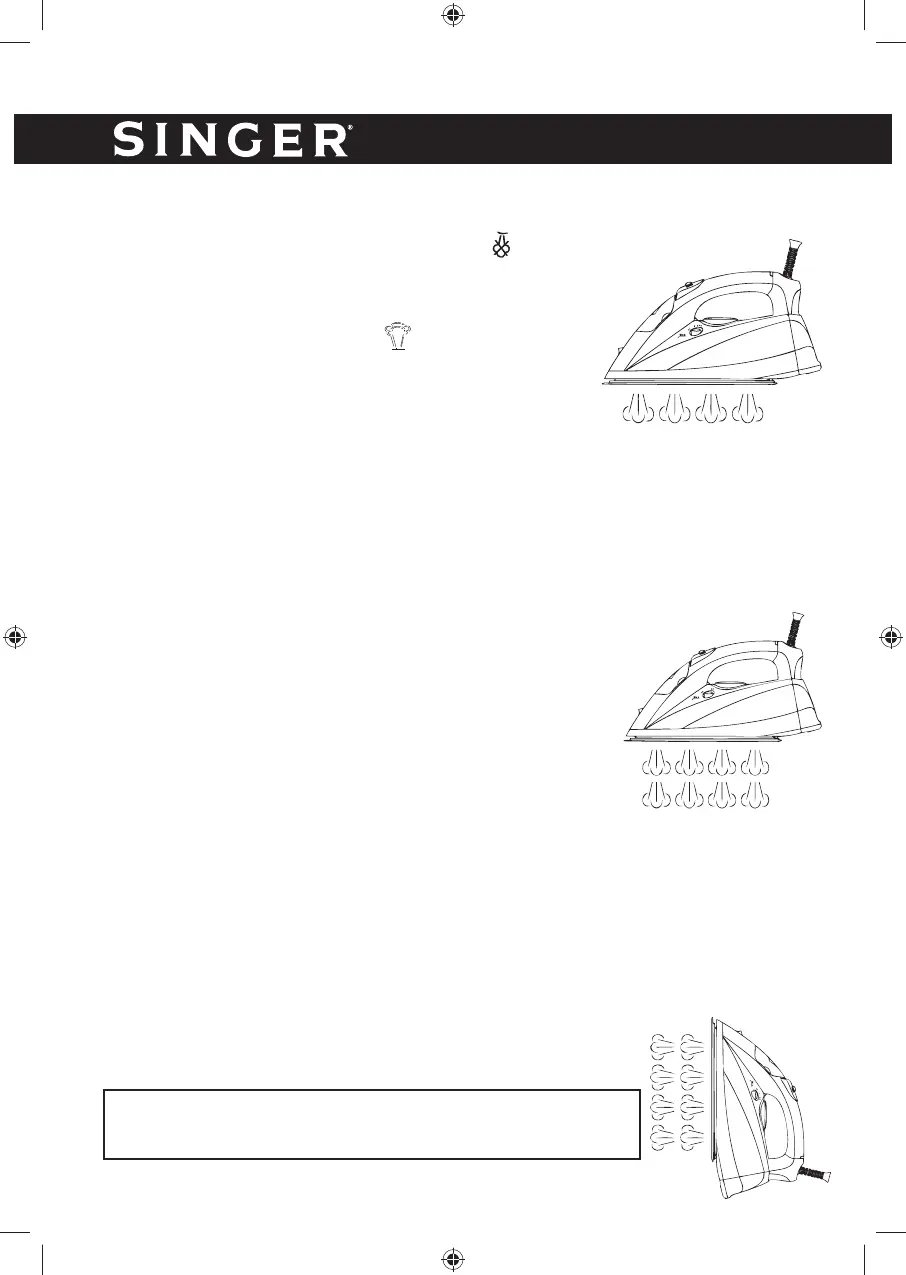
ΕΚΤΟΞΕΥΣΗ ΑΤΜΟΥ ΣΕ ΟΡΙΖΟΝΤΙΑ ΘΕΣΗ
Αυτή η λειτουργία παρέχει επιπλέον ατμό για το σιδέρωμα
επίμονων τσαλακωμάτων.
1. Γεμίστε το σίδερο με νερό όπως περιγράφεται στην
παράγραφο «Γέμισμα με νερό».
2. Συνδέστε το φις στην πρίζα, η φωτεινή ένδειξη λειτουργίας θα
ανάψει για ένα δευτερόλεπτο και μετά θα σβήσει.
3. Γυρίστε το διακόπτη θερμοκρασίας στη θέση ‘ ‘(3 κουκίδες) ή
στη θέση «MAX».
4. Η ένδειξη λειτουργίας θα ανάψει και το σίδερο αρχίζει να
θερμαίνεται.
5. Όταν το σίδερο έχει την επιθυμητή θερμοκρασία, η ένδειξη λειτουργίας θα σβήσει.
6. Το σίδερο είναι έτοιμο για χρήση.
7. Πιέστε το κουμπί εκτόξευσης ατμού.
8. Ο ατμός θα διεισδύσει στο ύφασμα και οι τσακίσεις θα φύγουν.
9. Όταν
έχετε επίμονες τσακίσεις, περιμένετε μερικά δευτερόλεπτα πριν πιέσετε το
κουμπί εκτόξευσης ατμού ξανά.
Σημείωση: Μπορεί να χρειαστεί να πιέσετε το κουμπί εκτόξευσης ατμού μερικές φορές
για να ξεκινήσει αυτή η λειτουργία. Για καλύτερη ποιότητα ατμού, μη χρησιμοποιείτε
το κουμπί εκτόξευσης ατμού περισσότερο απο τρεις φορές στη σειρά.
ΕΚΤΟΞΕΥΣΗ ΑΤΜΟΥ ΣΕ ΚΑΘΕΤΗ ΘΕΣΗ
Προειδοποίηση: Μη χρησιμοποιείτε τη λειτουργία σιδερώματος με
ατμό σε ρούχα ή υφάσματα τη στιγμή που τα φοράνε άνθρωποι ή
ζώα. Η θερμοκρασία του ατμού είναι πολύ μεγάλη.
(Εικ. 6)
(Εικ.5)
(Εικ. 4)

Related product manuals