EasyManua.ls Logo

Skil 1825 - Collet Chuck Maintenance and Motor Removal

Skil 1825
52 pages
Print Icon
To Next Page IconTo Next Page
To Next Page IconTo Next Page
To Previous Page IconTo Previous Page
To Previous Page IconTo Previous Page
Loading...
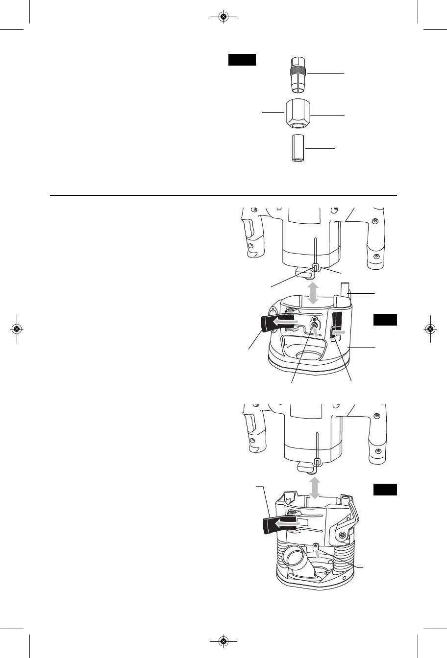
REMOVING MOTOR FROM BASE
To remove motor from fixed bases:
1. Hold router in vertical position, open base
clamp lever, push base release lever in
direction of arrow and pull motor unit
upwards from base, just before the motor
is completely out of the base it will stop
moving. Then depress the base release
button, and pull motor unit upwards from
base (Fig. 7).
To remove motor from plunge base:
1. Hold router in vertical position, open base
clamp lever, depress base release button,
and pull motor upwards from base (Fig. 8).
INSTALLING MOTOR IN BASE
To install motor in fixed base:
1. Release the base clamp lever.
2. Align the depth rod base with the pop-up
fine adjustment knob.
3. Slide motor into base until the base
release lever engages into the slot on the
motor unit (Fig. 7).
4. Lock the base clamp lever.
To install motor in plunge base:
1. Release the base clamp lever.
2. Align the depth rod base with the pop-up
fine adjustment knob.
3. Slide motor into base until the base
release stop button on motor engages into
the slot in the base (Fig. 8).
4. Lock the base clamp lever.
BASE
CLAMP
LEVER
COLLET CHUCK CARE
(Model 1825 only)
With the router bit removed, continue to turn
the collet nut counter-clockwise until it is
loose. To assure a firm grip, occasionally
blow out the collet chuck and clean with a
tissue or fine brush. The collet chuck is made
up of two component parts as illustrated (Fig.
6); check to see that the adapter sleeve if
needed is properly seated in the collet nut
and lightly thread the collet nut back onto the
armature shaft. Replace a worn or damaged
collet chuck assembly immediately.
A
RMATURE
SHAFT
C
OLLET
N
UT
FIG. 6
C
OLLET CHUCK
A
SSEMBLY
ADAPTER
SLEEVE
BASE RELEASE
LEVER
BASE RELEASE
BUTTON
MOTOR UNIT
BASE
BASE
RELEASE
STOP BUTTON
DEPTH
ROD
BASE
BASE
CLAMP
LEVER
BASE
RELEASE
BUTTON
FIG. 7
FIG. 8
-9-
SM 1619X03874 04-09:SM 1619X03874 04-09 4/20/09 9:45 AM Page 9

Related product manuals