EasyManua.ls Logo

Skil 2888 - Page 28

Skil 2888
54 pages
Print Icon
To Next Page IconTo Next Page
To Next Page IconTo Next Page
To Previous Page IconTo Previous Page
To Previous Page IconTo Previous Page
Loading...
-28-
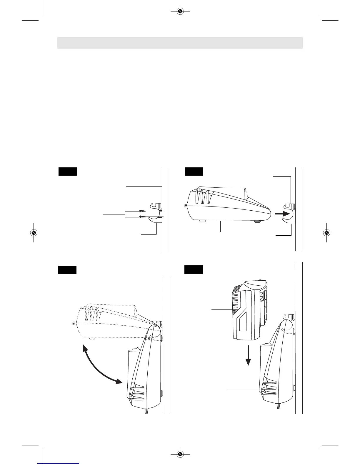
Montage du chargeur
MONTAGE DU CHARGEUR À UNE
SURFACE VERTICALE
(modèles SC118 et SC118B seulement)
Pour être encore plus pratique, votre chargeur a été
conçu pour être utilisé sur une surface horizontale plate
ou monté sur une surface verticale. La partie supérieure
de la pince de montage sert également au rangement
des embouts.
1. Choisissez un endroit suffisamment ps d’une prise
électrique pour que le cordon puisse l’atteindre. Essayez
de trouver un poteau ou autre support.
2. À l’aide d’un crayon de bois, faites deux marques sur
la surface, à la verticale l’une de l’autre et distantes
d’environ 3/4 po.
3. Fixez la pince de montage à la surface verticale à
l’aide de deux vis à te ronde No 8 (Fig. 4).
4. Enlevez le bloc-piles du chargeur avant de fixer ce
dernier.
5. Enfoncez la poignée du chargeur dans la pince de
montage en position horizontale (Fig. 5).
6. Abaissez doucement le chargeur pour l’amener à la
verticale bien à plat contre la surface de montage, ce qui
lui permettra de se bloquer dans la pince de montage
(Fig. 6)
7. Pour enlever le chargeur quand on le souhaite,
relevez-le, amenez-le à la position horizontale pour le
débloquer puis enlevez-le de la pince de montage
(Fig. 6).
8. Pour charger le bloc-piles, il suffit de le glisser sur le
chargeur (Fig. 7).
SURFACE
VERTICALE
PINCE DE
MONTAGE
VIS À BOIS À TÊTE
RONDE No 8
CHARGEUR
POUR
BLOQUER
PINCE DE
MONTAGE
POUR
DÉBLOQUER
BLOC-PILES
CHARGEUR
COMPARTIMENT DE
RANGEMENT DES EMBOUTS
FIG. 4 FIG. 5
FIG. 6
FIG. 7
SM 1619X04215 05-09:SM 1619X04215 05-09 5/21/09 3:09 PM Page 28

Related product manuals