EasyManua.ls Logo

Smeg FC40PXNFE - Before Using Your Refrigerator; Information on No-Frost Technology

Smeg FC40PXNFE
29 pages
Print Icon
To Next Page IconTo Next Page
To Next Page IconTo Next Page
To Previous Page IconTo Previous Page
To Previous Page IconTo Previous Page
Loading...
UK - 2 -
PART- 1. BEFORE USING YOUR REFRIGERATOR
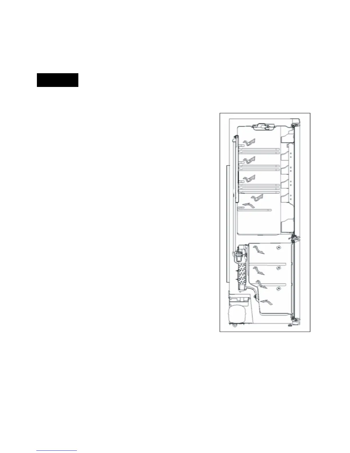
Information on No-Frost technology
No-frost refrigerators differ from other static
refrigerators in their operating principle.
In normal fridges, the humidity entering the fridge due
to door openings and the humidity inherent in the food
causes freezing in the freezer department. To defrost
the frost and ice in the freezer compartment, you are
periodically required to turn off the fridge, place the food
that needs to be kept frozen in a separately cooled
container, and remove the ice gathered in the freezer
department.
The situation is completely different in no-frost fridges.
Dry and cold air is blown into the fridge and freezer
compartments homogeneously and evenly from
several points via a blower fan. Cold air dispersed
homogeneously and evenly between the shelves cools
all of your food equally and uniformly, thus preventing
humidity and freezing.
Therefore your no-frost fridge allows you ease of use,
in addition to its huge capacity and stylish appearance.
SHIPMENT AND REPOSITIONING ...................................................................23
Tips For Saving Energy ................................................................................................... 26
THE PARTS OF THE APPLIANCE AND THE COMPARTMENTS .......................27

Related product manuals