EasyManua.ls Logo

Smeg KV26P - Page 5

Smeg KV26P
11 pages
Print Icon
To Next Page IconTo Next Page
To Next Page IconTo Next Page
To Previous Page IconTo Previous Page
To Previous Page IconTo Previous Page
Loading...
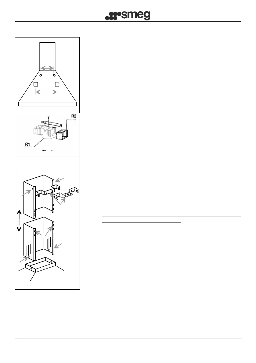
Fig. 5
Fig. 6
Fig. 7
L2
L1
K
Z
Z
L
L
Z
EN
4
FILTER version:
Leave the motor inlet free. Install the active carbon lters as
shown on page 8.
If the hood is not supplied with an active carbon lter you
must buy it separately at your nearest authorised Smeg
dealer.
For some models there is a standard set of ttings (g.6) to
be xed to the wall by expansion plugs at a suitable height
in order to channel the airow in correspondence with the
ue slits. Insert laterally the extensions R2 on the tting
R1. Connect the tting R1 at the outlet of the hood body by
means of a tube of diameter D.150mm.
FLUE ASSEMBLY (g. 7):
Position the one-piece or two-piece (K) ue bracket to
the required top limit.
Mark the two holes on the wall to x the bracket. Drill
and x the bracket with the supplied expansion plugs.
Carefully position the ue unit on the hood. Fix the lower
ue to the hood by means of the screws Z. Carefully
extend the top ue to the upper limit.
Secure the top ue to the ue bracket K using the screws
L.
ELECTRIC CONNECTION
We recommend that electric connections are carried
out by a professional installer.
In the case of a direct electric connection to the mains,
between the appliance and the mains, place a bipolar
switch with a minimum opening of 3mm between
contacts, sized to the load and compliant with the
current regulations.

Related product manuals