EasyManua.ls Logo

Smeg PL364CX - Page 20

Smeg PL364CX
60 pages
Print Icon
To Next Page IconTo Next Page
To Next Page IconTo Next Page
To Previous Page IconTo Previous Page
To Previous Page IconTo Previous Page
Loading...
User instructions
20
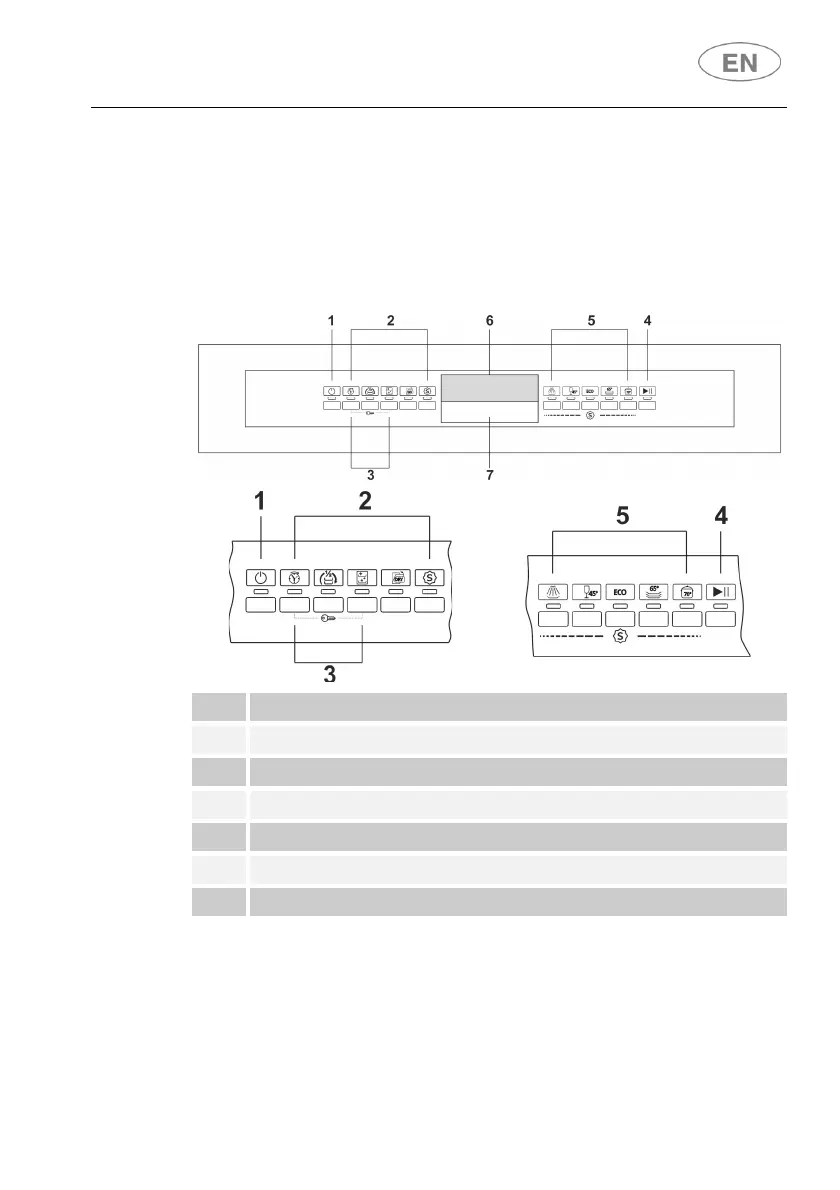
3 Description of the controls
3.1 Upper panel
All the dishwasher controls are grouped on the front panel. Programming
and option selection are only possible with the door closed.
1 ON/OFF BUTTON AND WARNING LIGHT
2 OPTION SELECTION BUTTONS AND WARNING LIGHTS
3 “CHILD LOCK ACTIVATION BUTTONS
4 START/PAUSE BUTTON
5 PROGRAM SELECTION BUTTONS
6 INFORMATION DISPLAY
7 HANDLE TO OPEN THE DOOR
N.B.: symbols and styling are guideline and may vary depending on
the model or version of the dishwasher purchased.

Related product manuals